ΠΠ°ΠΊ Π½Π°Π»Π°Π΄ΠΈΡΡ ΡΠ²Π΅ΠΉΠ½ΡΡ ΠΌΠ°ΡΠΈΠ½Ρ ΡΠ°ΠΉΠΊΠ° 142ΠΌ
ΠΠ½ΡΡΡΡΠΊΡΠΈΡ ΡΠ²Π΅ΠΉΠ½ΠΎΠΉ ΠΌΠ°ΡΠΈΠ½Ρ Π§Π°ΠΉΠΊΠ°, ΠΠΎΠ΄ΠΎΠ»ΡΡΠΊ 142
ΠΠ½ΡΡΡΡΠΊΡΠΈΡ ΡΠ²Π΅ΠΉΠ½ΠΎΠΉ ΠΌΠ°ΡΠΈΠ½Ρ Π§Π°ΠΉΠΊΠ° ΠΌΠΎΠΆΠ½ΠΎ ΠΈΡΠΏΠΎΠ»ΡΠ·ΠΎΠ²Π°ΡΡ ΠΊΠ°ΠΊ ΡΡΠΊΠΎΠ²ΠΎΠ΄ΡΡΠ²ΠΎ ΠΏΠΎ ΡΠΊΡΠΏΠ»ΡΠ°ΡΠ°ΡΠΈΠΈ Π΄Π»Ρ Π»ΡΠ±ΡΡ ΠΌΠΎΠ΄Π΅Π»Π΅ΠΉ ΡΠ²Π΅ΠΉΠ½ΡΡ ΠΌΠ°ΡΠΈΠ½, Π²ΡΠΏΠΎΠ»Π½ΡΡΡΠΈΡ ΡΡΡΠΎΡΠΊΡ Π·ΠΈΠ³Π·Π°Π³ ΡΠΈΠΏΠ° Π§Π°ΠΉΠΊΠ°: Π§Π°ΠΉΠΊΠ° 2, Π§Π°ΠΉΠΊΠ° 3, Π§Π°ΠΉΠΊΠ° 134. ΠΡΠ° ΠΈΠ½ΡΡΡΡΠΊΡΠΈΡ ΡΠ²Π΅ΠΉΠ½ΠΎΠΉ ΠΌΠ°ΡΠΈΠ½ΠΊΠΈ Π§Π°ΠΉΠΊΠ° ΠΏΠΎΠ΄Ρ ΠΎΠ΄ΠΈΡ ΠΈ Π΄Π»Ρ ΡΠ²Π΅ΠΉΠ½ΡΡ ΠΌΠ°ΡΠΈΠ½ ΠΠ°Π»ΡΠ²Π°, Π° ΡΠ°ΠΊΠΆΠ΅ Π²ΡΠ΅Ρ ΠΌΠΎΠ΄Π΅Π»Π΅ΠΉ ΡΠ²Π΅ΠΉΠ½ΡΡ ΠΌΠ°ΡΠΈΠ½ ΠΌΠ°ΡΠΊΠΈ ΠΠΎΠ΄ΠΎΠ»ΡΡΠΊ, Π²ΡΠΏΠΎΠ»Π½ΡΡΡΠΈΡ ΡΡΡΠΎΡΠΊΡ Π·ΠΈΠ³Π·Π°Π³: ΠΠΎΠ΄ΠΎΠ»ΡΡΠΊ 142, ΠΠΎΠ΄ΠΎΠ»ΡΡΠΊ 142Π ΠΈ Π΄Ρ.
1. Π¨Π²Π΅ΠΉΠ½ΡΠ΅ ΠΌΠ°ΡΠΈΠ½Ρ Π§Π°ΠΉΠΊΠ° ΠΈ ΠΠΎΠ΄ΠΎΠ»ΡΡΠΊ 142 ΡΡΡΡΠΎΠ΅Π½Ρ ΠΎΠ΄ΠΈΠ½Π°ΠΊΠΎΠ²ΠΎ
ΠΠ°Π½Π½Π°Ρ ΠΈΠ½ΡΡΡΡΠΊΡΠΈΡ ΡΠΊΡΠΏΠ»ΡΠ°ΡΠ°ΡΠΈΠΈ ΡΠ²Π΅ΠΉΠ½ΠΎΠΉ ΠΌΠ°ΡΠΈΠ½Ρ Π§Π°ΠΉΠΊΠ° Π΄Π°Π½Π° Π² ΡΠΎΠΊΡΠ°ΡΠ΅Π½Π½ΠΎΠΌ Π²ΠΈΠ΄Π΅, ΡΠΎΡΡΠ°Π²Π»Π΅Π½Π° ΠΎΠ½Π° Π½Π° ΠΎΡΠ½ΠΎΠ²Π΅ ΠΈΠ½ΡΡΡΡΠΊΡΠΈΠΈ Π·Π°Π²ΠΎΠ΄Π° ΠΈΠ·Π³ΠΎΡΠΎΠ²ΠΈΡΠ΅Π»Ρ.
ΠΠΊΡΠΏΠ»ΡΠ°ΡΠ°ΡΠΈΡ ΠΈ ΡΡΡΡΠΎΠΉΡΡΠ²ΠΎ ΡΠ²Π΅ΠΉΠ½ΠΎΠΉ ΠΌΠ°ΡΠΈΠ½Ρ ΠΠΎΠ΄ΠΎΠ»ΡΡΠΊ ΠΈ Π§Π°ΠΉΠΊΠ° ΠΏΡΠ°ΠΊΡΠΈΡΠ΅ΡΠΊΠΈ ΠΎΠ΄Π½ΠΎΡΠΈΠΏΠ½ΠΎΠ΅, ΠΏΠΎΡΡΠΎΠΌΡ Π΄Π°Π½Π½ΠΎΠ΅ ΡΡΠΊΠΎΠ²ΠΎΠ΄ΡΡΠ²ΠΎ ΠΏΠΎ ΡΠΊΡΠΏΠ»ΡΠ°ΡΠ°ΡΠΈΠΈ ΠΏΠΎΠ΄ΠΎΠΉΠ΄Π΅Ρ Π΄Π»Ρ Π²ΡΠ΅Ρ
ΠΌΠΎΠ΄Π΅Π»Π΅ΠΉ ΡΡΠΈΡ
ΡΠ²Π΅ΠΉΠ½ΡΡ
ΠΌΠ°ΡΠΎΠΊ, Π² ΡΠΎΠΌ ΡΠΈΡΠ»Π΅ ΠΈ Π΄Π»Ρ ΡΠ²Π΅ΠΉΠ½ΠΎΠΉ ΠΌΠ°ΡΠΈΠ½Ρ ΠΠ°Π»ΡΠ²Π°. ΠΠ½ΠΈ ΠΈΠΌΠ΅ΡΡ ΠΎΠ΄ΠΈΠ½Π°ΠΊΠΎΠ²ΠΎΠ΅ ΡΡΡΡΠΎΠΉΡΡΠ²ΠΎ ΠΈ ΠΎΡΠ»ΠΈΡΠ°ΡΡΡΡ ΡΠΎΠ»ΡΠΊΠΎ Π½Π°Π»ΠΈΡΠΈΠ΅ΠΌ Π΄ΠΎΠΏΠΎΠ»Π½ΠΈΡΠ΅Π»ΡΠ½ΡΡ
Π²ΠΈΠ΄ΠΎΠ² ΡΡΡΠΎΡΠΊΠΈ, ΠΎΠ±ΡΠ°Π·ΠΎΠ²Π°Π½Π½ΡΡ
Π½Π° Π±Π°Π·Π΅ ΡΡΡΠΎΡΠΊΠΈ Π·ΠΈΠ³Π·Π°Π³. ΠΠ΅ΡΠ²ΡΠ΅ ΠΌΠΎΠ΄Π΅Π»ΠΈ ΡΡΠΈΡ
ΡΠ²Π΅ΠΉΠ½ΡΡ
ΠΌΠ°ΡΠΈΠ½ Π²ΡΠΏΠΎΠ»Π½ΡΠ»ΠΈ ΡΠΎΠ»ΡΠΊΠΎ ΡΡΡΠΎΡΠΊΡ Π·ΠΈΠ³Π·Π°Π³. Π ΠΏΠΎΡΠ»Π΅Π΄ΡΡΡΠ΅ΠΌ, Π½Π΅ΠΊΠΎΡΠΎΡΡΠ΅ ΠΌΠΎΠ΄Π΅Π»ΠΈ Π§Π°ΠΉΠΊΠ° ΠΈ ΠΠΎΠ΄ΠΎΠ»ΡΡΠΊ ΠΊΠΎΠΌΠΏΠ»Π΅ΠΊΡΠΎΠ²Π°Π»ΠΈΡΡ ΡΡΡΡΠΎΠΉΡΡΠ²ΠΎΠΌ, ΠΎΡΠ²Π΅ΡΠ°ΡΡΠΈΠΌ Π·Π° Π²ΡΠΏΠΎΠ»Π½Π΅Π½ΠΈΠ΅ Π΄ΡΡΠ³ΠΈΡ
, Π΄ΠΎΠΏΠΎΠ»Π½ΠΈΡΠ΅Π»ΡΠ½ΡΡ
ΡΡΡΠΎΡΠ΅ΠΊ (ΠΊΠΎΠΏΠΈΡ)ΠΈ ΡΠΎΠΎΡΠ²Π΅ΡΡΡΠ²Π΅Π½Π½ΠΎ, ΡΡΡΠ°Π½Π°Π²Π»ΠΈΠ²Π°Π»ΡΡ ΠΈ ΠΏΠ΅ΡΠ΅ΠΊΠ»ΡΡΠ°ΡΠ΅Π»Ρ ΡΠ΅ΠΆΠΈΠΌΠΎΠ² Π΅Π³ΠΎ ΡΠ°Π±ΠΎΡΡ.
Π£ΡΡΡΠΎΠΉΡΡΠ²ΠΎ ΡΠ΅Π»Π½ΠΎΡΠ½ΠΎΠ³ΠΎ Ρ ΠΎΠ΄Π°, Π·Π°ΠΏΡΠ°Π²ΠΊΠΈ Π½ΠΈΡΠΊΠΈ ΠΈ ΠΏΠ°ΡΠ°ΠΌΠ΅ΡΡΡ ΡΠ΅Π³ΡΠ»ΠΈΡΠΎΠ²ΠΊΠΈ ΡΠ·Π»ΠΎΠ² ΠΈ ΠΌΠ΅Ρ Π°Π½ΠΈΠ·ΠΌΠΎΠ² ΡΡΠΈΡ ΡΠ²Π΅ΠΉΠ½ΡΡ ΠΌΠ°ΡΠΈΠ½ ΠΏΡΠ°ΠΊΡΠΈΡΠ΅ΡΠΊΠΈ Π°Π½Π°Π»ΠΎΠ³ΠΈΡΠ½ΠΎΠ΅ ΠΈ Π²Π·Π°ΠΈΠΌΠΎΠ·Π°ΠΌΠ΅Π½ΡΠ΅ΠΌΠΎΠ΅. ΠΡΠ»ΠΈΡΠ°Π΅ΡΡΡ Π»ΠΈΡΡ ΡΡΡΠ°Π½ΠΎΠ²ΠΊΠ° Π½Π΅ΠΊΠΎΡΠΎΡΡΡ ΠΏΠ°ΡΠ°ΠΌΠ΅ΡΡΠΎΠ² Π½Π°ΡΡΡΠΎΠΉΠΊΠΈ ΡΠ°Π±ΠΎΡΡ ΡΠ΅Π»Π½ΠΎΡΠ½ΠΎΠ³ΠΎ Ρ ΠΎΠ΄Π° (Π² Π·Π°Π²ΠΈΡΠΈΠΌΠΎΡΡΠΈ ΠΎΡ ΠΌΠΎΠ΄Π΅Π»ΠΈ ΡΠ²Π΅ΠΉΠ½ΠΎΠΉ ΠΌΠ°ΡΠΈΠ½Ρ). ΠΠΎΠ΄ΡΠΎΠ±Π½ΠΎ ΠΎ ΡΠΎΠΌ, ΠΊΠ°ΠΊ Π½Π°ΡΡΡΠΎΠΈΡΡ ΠΈ Π²ΡΠΏΠΎΠ»Π½ΠΈΡΡ ΠΌΠ΅Π»ΠΊΠΈΠΉ ΡΠ΅ΠΌΠΎΠ½Ρ ΡΠ²Π΅ΠΉΠ½ΡΡ ΠΌΠ°ΡΠΈΠ½ ΡΠΈΠΏΠ° Π§Π°ΠΉΠΊΠ° ΡΠΌΠΎΡΡΠΈΡΠ΅ Π² Π΄ΡΡΠ³ΠΈΡ ΡΡΠ°ΡΡΡΡ , Π² ΡΠ°Π·Π΄Π΅Π»Π΅, ΠΏΠΎΡΠ²ΡΡΠ΅Π½Π½ΠΎΠΌ ΡΠ΅ΠΌΠΎΠ½ΡΡ Π±ΡΡΠΎΠ²ΡΡ ΡΠ²Π΅ΠΉΠ½ΡΡ ΠΌΠ°ΡΠΈΠ½.
Π’ΠΎΠ»ΡΠΊΠΎ ΡΠ²Π΅ΠΉΠ½Π°Ρ ΠΌΠ°ΡΠΈΠ½ΠΊΠ° ΡΠΈΠΏΠ° ΠΠΈΠ½Π³Π΅Ρ ΠΈΠ»ΠΈ ΠΠΎΠ΄ΠΎΠ»ΡΡΠΊ ΠΌΠΎΠΆΠ΅Ρ ΡΠΈΡΡ ΠΊΠΎΠΆΡ Π±Π΅Π· ΠΏΡΠΎΠ±Π»Π΅ΠΌ. ΠΠΎΡΠΌΠΎΡΡΠΈΡΠ΅ ΡΡΠΎ Π²ΠΈΠ΄Π΅ΠΎ ΠΈ ΠΎΠ±ΡΠ·Π°ΡΠ΅Π»ΡΠ½ΠΎ ΠΏΠΎΠ΄ΠΏΠΈΡΠΈΡΠ΅ΡΡ Π½Π° ΠΌΠΎΠΉ ΠΊΠ°Π½Π°Π».
2. Π£ΡΡΡΠΎΠΉΡΡΠ²ΠΎ ΡΠ²Π΅ΠΉΠ½ΠΎΠΉ ΠΌΠ°ΡΠΈΠ½Ρ Π§Π°ΠΉΠΊΠ°, ΠΠΎΠ΄ΠΎΠ»ΡΡΠΊ 142
1. Π§Π΅Π»Π½ΠΎΡΠ½ΠΎΠ΅ ΡΡΡΡΠΎΠΉΡΡΠ²ΠΎ.
2. ΠΠ»Π°ΡΡΠΎΡΠΌΠ° ΡΠ²Π΅ΠΉΠ½ΠΎΠΉ ΠΌΠ°ΡΠΈΠ½Ρ.
3. ΠΠ³ΠΎΠ»ΡΠ½Π°Ρ ΠΏΠ»Π°ΡΡΠΈΠ½Π°.
4. ΠΠ°ΠΏΠΊΠ° Π½Π°ΠΆΠΈΠΌΠ½Π°Ρ.
5. ΠΠ³Π»ΠΎΠ²ΠΎΠ΄ΠΈΡΠ΅Π»Ρ.
i6. Π ΡΡΠ°Π³ ΠΏΠΎΠ΄ΡΠ΅ΠΌΠ° Π»Π°ΠΏΠΊΠΈ.
7. Π Π΅Π³ΡΠ»ΡΡΠΎΡ Π½Π°ΡΡΠΆΠ΅Π½ΠΈΡ Π²Π΅ΡΡ
Π½Π΅ΠΉ Π½ΠΈΡΠΊΠΈ.
8. ΠΡΡΡΠΊΠΈ Π²Π΅ΡΡ
Π½ΡΡ ΠΈ ΡΡΠΎΠ½ΡΠ°Π»ΡΠ½Π°Ρ.
9. Π ΡΡΠ°Π³ Π½ΠΈΡΠ΅ΠΏΡΠΈΡΡΠ³ΠΈΠ²Π°ΡΠ΅Π»Ρ.
10. Π¨Π°ΠΉΠ±Ρ Π½Π°ΡΡΠΆΠΈΡΠ΅Π»Ρ Π²Π΅ΡΡ
Π½Π΅ΠΉ Π½ΠΈΡΠΊΠΈ.
11. Π£ΠΊΠ°Π·Π°ΡΠ΅Π»Ρ Π²ΠΈΠ΄Π° ΡΡΡΠΎΡΠ΅ΠΊ.
12. Π£ΠΊΠ°Π·Π°ΡΠ΅Π»Ρ ΡΠΈΡΠΈΠ½Ρ Π·ΠΈΠ³Π·Π°Π³Π°.
13. Π‘ΡΠ΅ΡΠΆΠ΅Π½Ρ Π΄Π»Ρ ΠΊΠ°ΡΡΡΠΊΠΈ.
14. ΠΠΎΡΠ°Π»ΠΊΠ°.
15. ΠΠ°Ρ
ΠΎΠ²ΠΈΠΊ.
16. Π ΡΡΠ°Π³ ΡΠΌΠ΅ΡΠ΅Π½ΠΈΡ ΠΈΠ³Π»Ρ.
17. Π ΡΡΠΊΠ° Π·ΠΈΠ³Π·Π°Π³Π°.
18. Π ΡΡΠ°Π³ ΠΎΠ±ΡΠ°ΡΠ½ΠΎΠΉ ΠΏΠΎΠ΄Π°ΡΠΈ ΡΠΊΠ°Π½ΠΈ.
19. Π ΡΡΠΊΠ° ΡΠ΅Π³ΡΠ»ΡΡΠΎΡΠ° Π΄Π»ΠΈΠ½Ρ ΡΡΠ΅ΠΆΠΊΠ°.
20. Π ΡΡΠΊΠ° ΡΠ΅Π³ΡΠ»ΡΡΠΎΡΠ° ΠΏΠΎΠ΄ΡΠ΅ΠΌΠ° Π³ΡΠ΅Π±Π΅Π½ΠΊΠΈ.
21. ΠΠ²ΠΈΠ³Π°ΡΠ΅Π»Ρ ΠΌΠ°ΡΠ΅ΡΠΈΠ°Π»Π° (ΡΠ΅ΠΉΠΊΠ°).
22. ΠΠ°Π½Π΅Π»Ρ ΡΠΈΡΡΠ½ΠΊΠΎΠ².
23. Π ΡΡΠΊΠ° ΠΏΠ΅ΡΠ΅ΠΊΠ»ΡΡΠ΅Π½ΠΈΡ Π±Π»ΠΎΠΊΠ° ΠΊΠΎΠΏΠΈΡΠΎΠ².
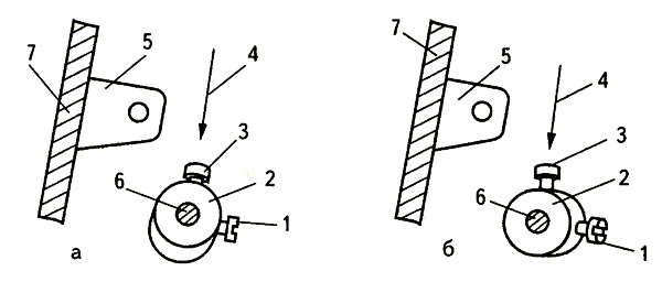
3. Π’ΠΊΠ°Π½ΠΈ, Π½ΠΈΡΠΊΠΈ ΠΈ ΠΈΠ³Π»Ρ Π΄Π»Ρ ΡΠ²Π΅ΠΉΠ½ΠΎΠΉ ΠΌΠ°ΡΠΈΠ½Ρ Π§Π°ΠΉΠΊΠ°, ΠΠΎΠ΄ΠΎΠ»ΡΡΠΊ
ΠΠ³Π»Ρ 1 Π½ΡΠΆΠ½ΠΎ ΡΡΡΠ°Π½ΠΎΠ²ΠΈΡΡ Π² ΠΈΠ³Π»ΠΎΠ΄Π΅ΡΠΆΠ°ΡΠ΅Π»Ρ 2 (ΠΏΡΠΈ Π²Π΅ΡΡ Π½Π΅ΠΌ ΠΏΠΎΠ»ΠΎΠΆΠ΅Π½ΠΈΠΈ ΠΈΠ³Π»ΠΎΠ²ΠΎΠ΄ΠΈΡΠ΅Π»Ρ) Π²Π²Π΅ΡΡ Π΄ΠΎ ΡΠΏΠΎΡΠ° ΠΈ Π·Π°ΠΊΡΠ΅ΠΏΠΈΡΡ Π²ΠΈΠ½ΡΠΎΠΌ 3. ΠΠ»ΠΎΡΠΊΠ°Ρ ΡΡΠΎΡΠΎΠ½Π° ΠΊΠΎΠ»Π±Ρ 4 (Π»ΡΡΠΊΠ°) Π½Π° ΠΈΠ³Π»Π΅ Π΄ΠΎΠ»ΠΆΠ½Π° Π±ΡΡΡ ΠΎΠ±ΡΠ°ΡΠ΅Π½Π° Π² ΠΏΡΠΎΡΠΈΠ²ΠΎΠΏΠΎΠ»ΠΎΠΆΠ½ΡΡ ΡΡΠΎΡΠΎΠ½Ρ ΠΎΡ ΡΠ°Π±ΠΎΡΠ°ΡΡΠ΅Π³ΠΎ ΡΠ΅Π»ΠΎΠ²Π΅ΠΊΠ° (ΡΠΈΡ. 4).
4. ΠΠ°ΠΏΡΠ°Π²ΠΊΠ° Π²Π΅ΡΡ Π½Π΅ΠΉ ΠΈ Π½ΠΈΠΆΠ½Π΅ΠΉ Π½ΠΈΡΠΊΠΈ
ΠΠ°ΠΏΡΠ°Π²ΠΊΠ° Π²Π΅ΡΡ
Π½Π΅ΠΉ Π½ΠΈΡΠΊΠΈ. ΠΠ½ΡΡΡΡΠΊΡΠΈΡ ΠΊ ΡΠ²Π΅ΠΉΠ½ΠΎΠΉ ΠΌΠ°ΡΠΈΠ½Π΅ Π§Π°ΠΉΠΊΠ°, ΠΠΎΠ΄ΠΎΠ»ΡΡΠΊ.
ΠΡΡΡΠ½ΡΡΡ ΠΊΠ°ΡΡΡΠ΅ΡΠ½ΡΠΉ ΡΡΠ΅ΡΠΆΠ΅Π½Ρ 13 Π²Π²Π΅ΡΡ
Π΄ΠΎ ΡΠΏΠΎΡΠ° ΠΈΠ· ΠΊΡΡΡΠΊΠΈ ΡΡΠΊΠ°Π²Π°.
Π£ΡΡΠ°Π½ΠΎΠ²ΠΈΡΡ ΡΡΠΊΠΎ Π½ΠΈΡΠ΅ΠΏΡΠΈΡΡΠ³ΠΈΠ²Π°ΡΠ΅Π»Ρ Π² Π²Π΅ΡΡ
Π½Π΅Π΅ ΠΏΠΎΠ»ΠΎΠΆΠ΅Π½ΠΈΠ΅ ΠΏΠΎΠ²ΠΎΡΠΎΡΠΎΠΌ ΠΌΠ°Ρ
ΠΎΠ²ΠΈΠΊΠ°.
ΠΠΎΠ΄Π½ΡΡΡ Π½Π°ΠΆΠΈΠΌΠ½ΡΡ Π»Π°ΠΏΠΊΡ.
Π£ΡΡΠ°Π½ΠΎΠ²ΠΈΡΡ Π½Π° ΡΡΠ΅ΡΠΆΠ΅Π½Ρ 13 ΠΊΠ°ΡΡΡΠΊΡ Ρ Π½ΠΈΡΠΊΠ°ΠΌΠΈ.
ΠΠ°ΠΏΡΠ°Π²Π»ΡΡΡ Π²Π΅ΡΡ
Π½ΡΡ Π½ΠΈΡΠΊΡ Π½ΡΠΆΠ½ΠΎ Π² ΡΠ°ΠΊΠΎΠΉ ΠΏΠΎΡΠ»Π΅Π΄ΠΎΠ²Π°ΡΠ΅Π»ΡΠ½ΠΎΡΡΠΈ. Π ΠΎΡΠ²Π΅ΡΡΡΠΈΡ 7 ΠΈ 6 ΠΏΠ»Π°ΡΡΠΈΠ½ΡΠ°ΡΠΎΠ³ΠΎ Π½ΠΈΡΠ΅Π½Π°ΠΏΡΠ°Π²ΠΈΡΠ΅Π»Ρ, ΠΌΠ΅ΠΆΠ΄Ρ ΡΠ°ΠΉΠ±Π°ΠΌΠΈ 8 ΡΠ΅Π³ΡΠ»ΡΡΠΎΡΠ° Π½Π°ΡΡΠΆΠ΅Π½ΠΈΡ.
ΠΠ°Π»Π΅Π΅, Π²Π²Π΅ΡΡ
Π² ΡΡΠΊΠΎ 4 Π½ΠΈΡΠ΅ΠΏΡΠΈΡΡΠ³ΠΈΠ²Π°ΡΠ΅Π»ΡΠ½ΠΎΠΉ ΠΏΡΡΠΆΠΈΠ½Ρ. ΠΠΎΡΠ»Π΅ ΡΡΠΎΠ³ΠΎ, Π·Π°Π²Π΅ΡΡΠΈ Π½ΠΈΡΠΊΡ Π²Π½ΠΈΠ· ΠΏΠΎΠ΄ Π½ΠΈΡΠ΅ΠΏΡΠΈΡΡΠ³ΠΈΠ²Π°ΡΠ΅Π»ΡΠ½ΠΎΠΉ ΠΊΡΡΡΠΎΠΊ 3. ΠΠ²Π΅ΡΡ
, ΡΠ΅ΡΠ΅Π· ΠΎΡΠ²Π΅ΡΡΡΠΈΠ΅ ΡΡΡΠ°Π³Π° Π½ΠΈΡΠ΅ΠΏΡΠΈΡΡΠ³ΠΈΠ²Π°ΡΠ΅Π»Ρ 5.
ΠΠ°Π»Π΅Π΅, Π²Π½ΠΈΠ· Π² Π½ΠΈΡΠ΅Π½Π°ΠΏΡΠ°Π²ΠΈΡΠ΅Π»Ρ ΠΈΠ· ΠΏΡΠΎΠ²ΠΎΠ»ΠΎΠΊΠΈ 2, Π² Π½ΠΈΡΠ΅Π½Π°ΠΏΡΠ°Π²ΠΈΡΠ΅Π»Ρ 1 Π½Π° ΠΈΠ³Π»ΠΎΠ²ΠΎΠ΄ΠΈΡΠ΅Π»Π΅ ΠΈ Π²Π΄Π΅ΡΡ Π² ΡΡΠΊΠΎ ΠΈΠ³Π»Ρ 9 ΡΠΎ ΡΡΠΎΡΠΎΠ½Ρ ΡΠ°Π±ΠΎΡΠ°ΡΡΠ΅Π³ΠΎ ΡΠ΅Π»ΠΎΠ²Π΅ΠΊΠ°.
ΠΠ°ΠΊ ΡΡΡΡΠΎΠ΅Π½ Π½Π°ΡΡΠΆΠΈΡΠ΅Π»Ρ Π²Π΅ΡΡ Π½Π΅ΠΉ Π½ΠΈΡΠΊΠΈ.
ΠΠ°ΠΏΡΠ°Π²ΠΊΠ° Π½ΠΈΠΆΠ½Π΅ΠΉ Π½ΠΈΡΠΊΠΈ.
ΠΡΠ΅ΠΆΠ΄Π΅ ΡΠ΅ΠΌ Π·Π°ΠΏΡΠ°Π²ΠΈΡΡ Π½ΠΈΠΆΠ½ΡΡ Π½ΠΈΡΠΊΡ, Π½ΡΠΆΠ½ΠΎ Π²ΡΡΠ°ΡΠΈΡΡ ΡΠΏΡΠ»ΡΠ½ΡΠΉ ΠΊΠΎΠ»ΠΏΠ°ΡΠΎΠΊ ΡΠΎ ΡΠΏΡΠ»ΡΠΊΠΎΠΉ ΠΈΠ· ΡΠ΅Π»Π½ΠΎΡΠ½ΠΎΠ³ΠΎ ΡΡΡΡΠΎΠΉΡΡΠ²Π°, Π΄Π»Ρ ΡΠ΅Π³ΠΎ Π½Π΅ΠΎΠ±Ρ
ΠΎΠ΄ΠΈΠΌΠΎ ΠΏΠΎΠ²ΠΎΡΠΎΡΠΎΠΌ ΠΌΠ°Ρ
ΠΎΠ²ΠΈΠΊΠ° ΠΏΠΎΡΡΠ°Π²ΠΈΡΡ ΠΈΠ³Π»Ρ Π² Π²Π΅ΡΡ
Π½Π΅Π΅ ΠΏΠΎΠ»ΠΎΠΆΠ΅Π½ΠΈΠ΅. ΠΡΠ΄Π²ΠΈΠ½ΡΡΡ Π·Π°Π΄Π²ΠΈΠΆΠ½ΡΡ ΠΏΠ»Π°ΡΡΠΈΠ½ΠΊΡ, Π΄Π²ΡΠΌΡ ΠΏΠ°Π»ΡΡΠ°ΠΌΠΈ Π»Π΅Π²ΠΎΠΉ ΡΡΠΊΠΈ Π·Π°Ρ
Π²Π°ΡΠΈΡΡ ΡΡΡΠ°Π³ Π·Π°ΡΠ΅Π»ΠΊΠΈ ΡΠΏΡΠ»ΡΠ½ΠΎΠ³ΠΎ ΠΊΠΎΠ»ΠΏΠ°ΡΠΊΠ° ΠΈ ΠΈΠ·Π²Π»Π΅ΡΡ ΡΠΏΡΠ»ΡΠ½ΡΠΉ ΠΊΠΎΠ»ΠΏΠ°ΡΠΎΠΊ.
5. ΠΠ°ΠΌΠΎΡΠΊΠ° Π½ΠΈΡΠΊΠΈ Π½Π° ΡΠΏΡΠ»ΡΠΊΡ
ΠΠ½ΡΡΡΡΠΊΡΠΈΡ ΠΊ ΡΠ²Π΅ΠΉΠ½ΠΎΠΉ ΠΌΠ°ΡΠΈΠ½Π΅ Π§Π°ΠΉΠΊΠ°, ΠΠΎΠ΄ΠΎΠ»ΡΡΠΊ ΠΏΡΠ΅Π΄ΡΡΠΌΠ°ΡΡΠΈΠ²Π°Π΅Ρ ΠΎΠ±ΡΠ·Π°ΡΠ΅Π»ΡΠ½ΡΡ Π½Π°ΠΌΠΎΡΠΊΡ Π½ΠΈΡΠΊΠΈ Π½Π° ΡΠ²Π΅ΠΉΠ½ΡΡ ΡΠΏΡΠ»ΡΠΊΡ Ρ ΠΏΠΎΠΌΠΎΡΡΡ ΡΠΏΠ΅ΡΠΈΠ°Π»ΡΠ½ΠΎΠΉ ΠΌΠΎΡΠ°Π»ΠΊΠΈ. ΠΠ°ΠΌΠΎΡΠΊΠ° Π½ΠΈΡΠΊΠΈ Π²ΡΡΡΠ½ΡΡ ΠΌΠΎΠΆΠ΅Ρ ΠΏΡΠΈΠ²Π΅ΡΡΠΈ ΠΊ ΠΏΠΎΡΠ²Π»Π΅Π½ΠΈΡ ΡΠ°Π·Π»ΠΈΡΠ½ΡΡ
Π΄Π΅ΡΠ΅ΠΊΡΠΎΠ² ΡΡΡΠΎΡΠΊΠΈ.
ΠΡΠΈ Π½Π°ΠΌΠΎΡΠΊΠ΅ Π½ΠΈΡΠΊΠΈ Π½Π° ΡΠΏΡΠ»ΡΠΊΡ ΠΌΠ°Ρ
ΠΎΠ²ΠΈΠΊ ΠΌΠ°ΡΠΈΠ½Ρ Π΄ΠΎΠ»ΠΆΠ΅Π½ Π²ΡΠ°ΡΠ°ΡΡΡΡ Π²Ρ
ΠΎΠ»ΠΎΡΡΡΡ. ΠΠ»Ρ ΡΡΠΎΠ³ΠΎ Π½ΡΠΆΠ½ΠΎ ΠΎΡΠ²ΠΎΠ±ΠΎΠ΄ΠΈΡΡ ΡΡΠΈΠΊΡΠΈΠΎΠ½Π½ΡΠΉ Π²ΠΈΠ½Ρ 1 (ΡΠΈΡ. 8).
Π¨ΠΏΡΠ»ΡΠΊΡ Π½ΡΠΆΠ½ΠΎ Π½Π°Π΄Π΅ΡΡ Π½Π° ΡΠΏΠΈΠ½Π΄Π΅Π»Ρ ΠΌΠΎΡΠ°Π»ΠΊΠΈ 2 ΡΠ°ΠΊ, ΡΡΠΎΠ±Ρ ΠΏΡΡΠΆΠΈΠ½Π° ΡΠΏΠΈΠ½Π΄Π΅Π»Ρ Π²ΠΎΡΠ»Π° Π² ΠΏΡΠΎΡΠ΅Π·Ρ ΡΠΏΡΠ»ΡΠΊΠΈ. ΠΠ°ΡΡΡΠΊΡ 1 Ρ Π½ΠΈΡΠΊΠ°ΠΌΠΈ ΠΏΠΎΡΡΠ°Π²ΠΈΡΡ Π½Π° ΠΊΠ°ΡΡΡΠ΅ΡΠ½ΡΠΉ ΡΡΠ΅ΡΠΆΠ΅Π½Ρ. ΠΠΈΡΠΊΡ Ρ ΠΊΠ°ΡΡΡΠΊΠΈ Π·Π°ΠΏΡΠ°Π²ΠΈΡΡ ΠΌΠ΅ΠΆΠ΄Ρ ΡΠ°ΠΉΠ±Π°ΠΌΠΈ Π½Π°ΡΡΠΆΠ΅Π½ΠΈΡ 4, ΠΊΠ°ΠΊ ΠΏΠΎΠΊΠ°Π·Π°Π½ΠΎ Π½Π° ΡΠΈΡ. 9, ΠΈ Π·Π°ΡΠ΅ΠΌ Π½Π°ΠΌΠΎΡΠ°ΡΡ Π½Π΅ΡΠΊΠΎΠ»ΡΠΊΠΎ Π²ΠΈΡΠΊΠΎΠ² ΠΏΠ° ΡΠΏΡΠ»ΡΠΊΡ Π²ΡΡΡΠ½ΡΡ. ΠΠΎΡΠ°Π»ΠΊΡ ΠΏΠΎΠ΄ΠΆΠ°ΡΡ ΠΊ ΠΌΠ°Ρ
ΠΎΠ²ΠΈΠΊΡ. ΠΠ°Π»Π΅Π΅ ΠΏΡΠΎΠΈΠ·Π²ΠΎΠ΄ΠΈΡΡ Π½Π°ΠΌΠΎΡΠΊΡ, Π²ΡΠ°ΡΠ°Ρ ΠΌΠ°Ρ
ΠΎΠ²ΠΈΠΊ Ρ ΠΏΠΎΠΌΠΎΡΡΡ ΠΏΡΠΈΠ²ΠΎΠ΄Π°.
ΠΠΎΡΠ»Π΅ ΡΠΎΠ³ΠΎ, ΠΊΠΎΠ³Π΄Π° ΡΠΏΡΠ»ΡΠΊΠ° Π±ΡΠ΄Π΅Ρ ΠΏΠΎΠ»Π½ΠΎΡΡΡΡ Π½Π°ΠΌΠΎΡΠ°Π½Π°, ΡΠ΅Π·ΠΈΠ½ΠΎΠ²ΠΎΠ΅ ΠΊΠΎΠ»ΡΡΠΎ ΠΌΠΎΡΠ°Π»ΠΊΠΈ ΠΏΠ΅ΡΠ΅ΡΡΠ°Π½Π΅Ρ ΡΠΎΠΏΡΠΈΠΊΠ°ΡΠ°ΡΡΡΡ Ρ ΠΌΠ°Ρ
ΠΎΠ²ΠΈΠΊΠΎΠΌ, ΠΈ Π½Π°ΠΌΠΎΡΠΊΠ° ΠΏΡΠ΅ΠΊΡΠ°ΡΠΈΡΡΡ. ΠΠ΅ΡΠ΅Π΄ ΡΠ½ΡΡΠΈΠ΅ΠΌ ΡΠΏΡΠ»ΡΠΊΠΈ ΠΌΠΎΡΠ°Π»ΠΊΡ Π½Π΅ΠΎΠ±Ρ
ΠΎΠ΄ΠΈΠΌΠΎ ΠΎΡΠ²Π΅ΡΡΠΈ Π²Π»Π΅Π²ΠΎ ΠΎΡ ΡΠΏΠΎΡΠ° 3.
ΠΠ°ΠΏΡΠ°Π²ΠΈΡΡ Π½Π°ΠΌΠΎΡΠ°Π½Π½ΡΡ ΡΠΏΡΠ»ΡΠΊΡ Π² ΡΠΏΡΠ»ΡΠ½ΡΠΉ ΠΊΠΎΠ»ΠΏΠ°ΡΠΎΠΊ ΠΈ Π·Π°Π²Π΅ΡΡΠΈ Π½ΠΈΡΠΊΡ ΠΏΠΎΠ΄ ΠΏΡΡΠΆΠΈΠ½Ρ Π½Π°ΡΡΠΆΠ΅Π½ΠΈΡ, ΠΊΠ°ΠΊ ΠΏΠΎΠΊΠ°Π·Π°Π½ΠΎ Π½Π° ΡΠΈΡ. 10. ΠΡΡΠ°Π²ΠΈΡΡ ΡΠ²ΠΎΠ±ΠΎΠ΄Π½ΡΠΉ ΠΊΠΎΠ½Π΅Ρ Π½ΠΈΡΠΊΠΈ Π΄Π»ΠΈΠ½ΠΎΠΉ 10-15 ΡΠΌ.
ΠΡΡΠ°Π²ΠΈΡΡ ΡΠΏΡΠ»ΡΠ½ΡΠΉ ΠΊΠΎΠ»ΠΏΠ°ΡΠΎΠΊ ΡΠΎ ΡΠΏΡΠ»ΡΠΊΠΎΠΉ ΠΈ Π·Π°ΠΏΡΠ°Π²Π»Π΅Π½Π½ΠΎΠΉ ΠΏΠΎΠ΄ ΠΏΠ»Π°ΡΡΠΈΠ½Ρ Π½ΠΈΡΠΊΠΎΠΉ, Π² ΡΠ΅Π»Π½ΠΎΡΠ½ΠΎΠ΅ ΡΡΡΡΠΎΠΉΡΡΠ²ΠΎ. ΠΡΠΈ ΡΡΠΎΠΌ ΠΈΠ³Π»Π° Π΄ΠΎΠ»ΠΆΠ½Π° Π±ΡΡΡ Π² Π²Π΅ΡΡ
Π½Π΅ΠΌ ΠΏΠΎΠ»ΠΎΠΆΠ΅Π½ΠΈΠΈ.
Π¨ΠΏΡΠ»ΡΠ½ΡΠΉ ΠΊΠΎΠ»ΠΏΠ°ΡΠΎΠΊ ΡΠΎ ΡΠΏΡΠ»ΡΠΊΠΎΠΉ Π½Π°Π΄Π΅ΡΡ Π½Π° ΡΡΠ΅ΡΠΆΠ΅Π½Ρ 3 ΡΠ΅Π»Π½ΠΎΡΠ½ΠΎΠ³ΠΎ ΡΡΡΡΠΎΠΉΡΡΠ²Π° Π΄ΠΎ ΡΠΏΠΎΡΠ°. ΠΡΠΈ ΡΡΠΎΠΌ ΠΏΠ°Π»Π΅Ρ 1 ΡΠΏΡΠ»ΡΠ½ΠΎΠ³ΠΎ ΠΊΠΎΠ»ΠΏΠ°ΡΠΊΠ° Π΄ΠΎΠ»ΠΆΠ΅Π½ Π²ΠΎΠΉΡΠΈ Π² Π³Π½Π΅Π·Π΄ΠΎ 2 (ΡΠΈΡ. 11).
6. Π£ΠΏΡΠ°Π²Π»Π΅Π½ΠΈΠ΅ ΡΠ²Π΅ΠΉΠ½ΠΎΠΉ ΠΌΠ°ΡΠΈΠ½Π΅ Π§Π°ΠΉΠΊΠ°, ΠΠΎΠ΄ΠΎΠ»ΡΡΠΊ
ΠΡΠΈ ΠΏΡΠ°Π²ΠΈΠ»ΡΠ½ΠΎ Π²ΡΡΠ°Π²Π»Π΅Π½Π½ΠΎΠΌ ΡΠΏΡΠ»ΡΠ½ΠΎΠΌ ΠΊΠΎΠ»ΠΏΠ°ΡΠΊΠ΅ ΡΡΡΠ°Π³ Π·Π°ΡΠ΅Π»ΠΊΠΈ Π΄ΠΎΠ»ΠΆΠ΅Π½ Π½Π°Ρ
ΠΎΠ΄ΠΈΡΡΡΡ Π² ΠΏΠΎΠ΄ΠΏΡΡΠΆΠΈΠ½Π΅Π½Π½ΠΎΠΌ ΡΠΎΡΡΠΎΡΠ½ΠΈΠΈ ΠΈ ΠΏΡΠΈ ΠΎΡΠΊΡΡΠ²Π°Π½ΠΈΠΈ ΡΡΡΠ΅ΠΌΠΈΡΡΡΡ Π²ΠΎΠ·Π²ΡΠ°ΡΠΈΡΡΡΡ Π² ΠΈΡΡ
ΠΎΠ΄Π½ΠΎΠ΅ ΠΏΠΎΠ»ΠΎΠΆΠ΅Π½ΠΈΠ΅.
ΠΠ΅ΡΠ΅Π΄ Π½Π°ΡΠ°Π»ΠΎΠΌ ΡΠΈΡΡΡ Π½ΠΈΠΆΠ½ΡΡ Π½ΠΈΡΠΊΡ Π½Π΅ΠΎΠ±Ρ
ΠΎΠ΄ΠΈΠΌΠΎ ΠΈΠ·Π²Π»Π΅ΡΡ Π½Π° ΠΈΠ³ΠΎΠ»ΡΠ½ΡΡ ΠΏΠ»Π°ΡΡΠΈΠ½ΠΊΡ, Π΄Π»Ρ ΡΡΠΎΠ³ΠΎ, ΠΏΡΠΈΠ΄Π΅ΡΠΆΠΈΠ²Π°Ρ ΠΊΠΎΠ½Π΅Ρ ΠΈΠ³ΠΎΠ»ΡΠ½ΠΎΠΉ Π½ΠΈΡΠΊΠΈ, ΠΏΠΎΠ²Π΅ΡΠ½ΡΡΡ ΠΌΠ°Ρ
ΠΎΠ²ΠΈΠΊ ΡΠ°ΠΊ, ΡΡΠΎΠ±Ρ ΠΈΠ³Π»Π° ΠΎΠΏΡΡΡΠΈΠ»Π°ΡΡ Π² ΠΈΠ³ΠΎΠ»ΡΠ½ΠΎΠ΅ ΠΎΡΠ²Π΅ΡΡΡΠΈΠ΅, Π·Π°Ρ
Π²Π°ΡΠΈΠ»Π° Π½ΠΈΠΆΠ½ΡΡ ΡΠ΅Π»Π½ΠΎΡΠ½ΡΡ Π½ΠΈΡΠΊΡ ΠΈ ΠΏΠΎΠ΄Π½ΡΠ»Π°ΡΡ Π² Π²Π΅ΡΡ
Π½Π΅Π΅ ΠΏΠΎΠ»ΠΎΠΆΠ΅Π½ΠΈΠ΅. ΠΠ΅ΡΡ
Π½Π΅ΠΉ Π½ΠΈΡΠΊΠΎΠΉ Π²ΡΡΡΠ½ΡΡΡ ΡΠ΅Π»Π½ΠΎΡΠ½ΡΡ Π½ΠΈΡΠΊΡ Π½Π° ΠΈΠ³ΠΎΠ»ΡΠ½ΡΡ ΠΏΠ»Π°ΡΡΠΈΠ½ΠΊΡ (ΡΠΈΡ. 12) ΠΈ ΠΏΠΎΠ»ΠΎΠΆΠΈΡΡ ΠΊΠΎΠ½ΡΡ Π²Π΅ΡΡ
Π½Π΅ΠΉ ΠΈ Π½ΠΈΠΆΠ½Π΅ΠΉ Π½ΠΈΡΠΎΠΊ ΠΏΠΎΠ΄ Π½Π°ΠΆΠΈΠΌΠ½ΡΡ Π»Π°ΠΏΠΊΡ, ΠΊΠ°ΠΊ ΠΏΠΎΠΊΠ°Π·Π°Π½ΠΎ Π½Π° ΡΠΈΡ. 13.
ΠΠ»Ρ ΡΠΈΡΡΡ ΠΏΡΠΎΡΡΠΎΠΉ ΠΏΡΡΠΌΠΎΠ»ΠΈΠ½Π΅ΠΉΠ½ΠΎΠΉ ΡΡΡΠΎΡΠΊΠΎΠΉ Π½Π΅ΠΎΠ±Ρ
ΠΎΠ΄ΠΈΠΌΠΎ ΡΠΎΠ²ΠΌΠ΅ΡΡΠΈΡΡ ΡΠΈΡΡΡ 0 Π½Π° ΡΡΡΠΊΠ΅ 17 Ρ ΡΠΊΠ°Π·Π°ΡΠ΅Π»Π΅ΠΌ 12 (ΡΠΈΡ. 1). Π ΡΡΠΊΠ° 23 ΠΌΠΎΠΆΠ΅Ρ Π±ΡΡΡ Π² Π»ΡΠ±ΠΎΠΌ ΠΏΠΎΠ»ΠΎΠΆΠ΅Π½ΠΈΠΈ.
ΠΠ»ΠΈΠ½Π° ΡΡΠ΅ΠΆΠΊΠ° ΡΡΡΠ°Π½Π°Π²Π»ΠΈΠ²Π°Π΅ΡΡΡ ΠΏΠΎΠ²ΠΎΡΠΎΡΠΎΠΌ ΡΡΡΠΊΠΈ 19 (ΡΠΈΡ. 1) Π΄ΠΎ ΡΠΎΠ²ΠΌΠ΅ΡΠ΅Π½ΠΈΡ ΡΠΈΡΡΡ Ρ ΡΠΊΠ°Π·Π°ΡΠ΅Π»Π΅ΠΌ Π½Π° ΠΏΠ°Π½Π΅Π»ΠΈ.
ΠΠ±ΡΠ°ΡΠ½ΠΎΠ΅ Π½Π°ΠΏΡΠ°Π²Π»Π΅Π½ΠΈΠ΅ ΠΏΠΎΠ΄Π°ΡΠΈ ΠΌΠ°ΡΠ΅ΡΠΈΠ°Π»Π° Π΄Π»Ρ Π·Π°ΠΊΡΠ΅ΠΏΠΊΠΈ ΠΎΡΡΡΠ΅ΡΡΠ²Π»ΡΠ΅ΡΡΡ ΠΏΡΡΠ΅ΠΌ Π½Π°ΠΆΠ°ΡΠΈΡ ΡΡΡΠ°Π³Π° 18 (ΡΠΈΡ. 1) Π²Π½ΠΈΠ· Π΄ΠΎ ΡΠΏΠΎΡΠ°. Π¨Π°Π³ ΠΎΠ±ΡΠ°ΡΠ½ΠΎΠΉ ΠΏΠΎΠ΄Π°ΡΠΈ ΡΠ²ΡΡΠ΅ 2,5 ΠΌΠΌ ΠΎΡΡΠ°Π΅ΡΡΡ ΠΏΠΎΡΡΠΎΡΠ½Π½ΡΠΌ Π² ΠΏΡΠ΅Π΄Π΅Π»Π°Ρ
2,5 ΠΌΠΌ.
ΠΠ»Ρ ΠΏΠ΅ΡΠ΅Ρ
ΠΎΠ΄Π° Π½Π° Π·ΠΈΠ³Π·Π°Π³ΠΎΠΎΠ±ΡΠ°Π·Π½ΡΡ, Π΄Π΅ΠΊΠΎΡΠ°ΡΠΈΠ²Π½ΡΡ ΠΈ ΡΠ΅Π»Π΅Π²ΡΡ ΡΡΡΠΎΡΠΊΠΈ Π½Π΅ΠΎΠ±Ρ
ΠΎΠ΄ΠΈΠΌΠΎ ΡΡΡΠΊΡ 23 (ΡΠΈΡ. 1) Π»Π΅Π³ΠΊΠΈΠΌ Π½Π°ΠΆΠ°ΡΠΈΠ΅ΠΌ ΠΈ ΠΏΠΎΠ²ΠΎΡΠΎΡΠΎΠΌ Π²ΡΡΡΠ°Π²ΠΈΡΡ Π½Π° ΡΡΠ΅Π±ΡΠ΅ΠΌΡΠΉ Π²ΠΈΠ΄ ΡΡΡΠΎΡΠΊΠΈ. ΠΠΎΠ²ΠΎΡΠΎΡΠΎΠΌ ΡΡΡΠΊΠΈ 17 ΡΠΎΠ²ΠΌΠ΅ΡΡΠΈΡΡ ΡΠΈΡΡΡ 5 Ρ ΡΠΊΠ°Π·Π°ΡΠ΅Π»Π΅ΠΌ 12.
Π ΠΈΡΡΠ½ΠΎΠΊ Π΄Π»Ρ ΠΎΡΠ΄Π΅Π»ΠΊΠΈ ΠΈΠ·Π΄Π΅Π»ΠΈΠΉ Π±ΡΠ΄Π΅Ρ Π±ΠΎΠ»Π΅Π΅ ΡΠ΅ΡΠΊΠΈΠΌ ΠΏΡΠΈ ΠΌΠ΅Π½ΡΡΠ΅ΠΌ ΡΠ°Π³Π΅ ΡΡΡΠΎΡΠΊΠΈ. Π‘ΠΌΠ΅ΡΠ΅Π½ΠΈΠ΅ΠΌ ΡΡΡΠΎΡΠΊΠΈ ΠΏΠΎΠ»ΡΠ·ΡΡΡΡΡ ΠΏΡΠΈ Π²ΡΠΏΠΎΠ»Π½Π΅Π½ΠΈΠΈ ΡΠΏΠ΅ΡΠΈΠ°Π»ΡΠ½ΡΡ
ΠΎΠΏΠ΅ΡΠ°ΡΠΈΠΉ, Π½Π°ΠΏΡΠΈΠΌΠ΅Ρ, ΠΏΡΠΈ Π²ΡΠΌΠ΅ΡΡΠ²Π°Π½ΠΈΠΈ ΠΏΠ΅ΡΠ»ΠΈ, ΡΡΡΠ°Π½ΠΎΠ²ΠΊΠ΅ «ΠΌΠΎΠ»Π½ΠΈΠΉ» ΠΈ Ρ. ΠΏ. ΠΠ»Ρ ΡΠΌΠ΅ΡΠ΅Π½ΠΈΡ ΡΡΡΠΎΡΠΊΠΈ ΡΠ»ΡΠΆΠΈΡ ΡΡΡΠΊΠ° 16. ΠΠΎΠ²ΠΎΡΠΎΡΠΎΠΌ Π΅Π΅ Π΄ΠΎ ΡΠΏΠΎΡΠ° Π±Π΅Π· ΡΡΠΈΠ»ΠΈΡ Π² Π½Π°ΠΏΡΠ°Π²Π»Π΅Π½ΠΈΠΈ, ΡΠΊΠ°Π·Π°Π½Π½ΠΎΠΌ ΡΡΡΠ΅Π»ΠΊΠ°ΠΌΠΈ, ΠΈΠ³Π»Π° ΡΠΌΠ΅ΡΠ°Π΅ΡΡΡ Π²ΠΏΡΠ°Π²ΠΎ ΠΈΠ»ΠΈ Π²Π»Π΅Π²ΠΎ ΠΎΡ ΡΡΠ΅Π΄Π½Π΅Π³ΠΎ ΠΏΠΎΠ»ΠΎΠΆΠ΅Π½ΠΈΡ. ΠΠ»Ρ ΠΏΡΠΎΠ²Π΅ΡΠΊΠΈ ΠΊΠ°ΡΠ΅ΡΡΠ²Π° ΡΠΈΡΡΡ ΡΠ΅ΠΊΠΎΠΌΠ΅Π½Π΄ΡΠ΅ΡΡΡ ΡΠ΄Π΅Π»Π°ΡΡ ΠΏΡΠΎΠ±Π½ΡΡ ΡΡΡΠΎΡΠΊΡ Π½Π° Π»ΠΎΡΠΊΡΡΠΊΠ΅ Π½ΡΠΆΠ½ΠΎΠΉ Π²Π°ΠΌ ΡΠΊΠ°Π½ΠΈ ΠΈ ΠΏΡΠΈ Π½Π΅ΠΎΠ±Ρ
ΠΎΠ΄ΠΈΠΌΠΎΡΡΠΈ ΠΎΡΡΠ΅Π³ΡΠ»ΠΈΡΠΎΠ²Π°ΡΡ Π½Π°ΡΡΠΆΠ΅Π½ΠΈΠ΅ Π½ΠΈΡΠΎΠΊ.
Π Π΅Π³ΡΠ»ΠΈΡΠΎΠ²Π°Π½ΠΈΠ΅ Π½Π°ΡΡΠΆΠ΅Π½ΠΈΡ Π²Π΅ΡΡ
Π½Π΅ΠΉ Π½ΠΈΡΠΊΠΈ ΠΎΡΡΡΠ΅ΡΡΠ²Π»ΡΠ΅ΡΡΡ Ρ ΠΏΠΎΠΌΠΎΡΡΡ ΡΠ΅Π³ΡΠ»ΡΡΠΎΡΠ° Π½Π°ΡΡΠΆΠ΅Π½ΠΈΡ. ΠΠ΅ΡΠ΅ΠΏΠ»Π΅ΡΠ΅Π½ΠΈΠ΅ Π²Π΅ΡΡ
Π½Π΅ΠΉ ΠΈ Π½ΠΈΠΆΠ½Π΅ΠΉ Π½ΠΈΡΠΊΠΈ, Π΄ΠΎΠ»ΠΆΠ½ΠΎ ΠΏΡΠΎΠΈΡΡ
ΠΎΠ΄ΠΈΡΡ Π² ΡΠ΅ΡΠ΅Π΄ΠΈΠ½Π΅ ΡΡΠΈΠ²Π°Π΅ΠΌΡΡ
ΠΌΠ°ΡΠ΅ΡΠΈΠ°Π»ΠΎΠ². ΠΡΠ»ΠΈ ΠΏΠ΅ΡΠ΅ΠΏΠ»Π΅ΡΠ΅Π½ΠΈΠ΅ Π½ΠΈΡΠΎΠΊ ΠΏΡΠΈ ΠΎΠ±ΡΠ°Π·ΠΎΠ²Π°Π½ΠΈΠΈ ΡΡΠ΅ΠΆΠΊΠ° Π½Π°Ρ
ΠΎΠ΄ΠΈΡΡΡ ΡΠ²Π΅ΡΡ
Ρ, Π½ΡΠΆΠ½ΠΎ ΠΎΡΠ»Π°Π±ΠΈΡΡ Π½Π°ΡΡΠΆΠ΅Π½ΠΈΠ΅ Π²Π΅ΡΡ
Π½Π΅ΠΉ Π½ΠΈΡΠΊΠΈ. ΠΡΠ»ΠΈ ΠΏΠ΅ΡΠ΅ΠΏΠ»Π΅ΡΠ΅Π½ΠΈΠ΅ Π½ΠΈΡΠΎΠΊ Π½Π°Ρ
ΠΎΠ΄ΠΈΡΡΡ ΡΠ½ΠΈΠ·Ρ, Π½ΡΠΆΠ½ΠΎ ΡΡΠΈΠ»ΠΈΡΡ Π½Π°ΡΡΠΆΠ΅Π½ΠΈΠ΅ Π²Π΅ΡΡ
Π½Π΅ΠΉ Π½ΠΈΡΠΊΠΈ. ΠΡΠΈ ΡΠΈΡΡΠ΅ ΡΠ΅ΡΠ΅Π· ΡΠΎΠ»ΡΡΡΠ΅ ΠΈ ΡΠ²Π΅ΡΠ΄ΡΠ΅ ΠΌΠ΅ΡΡΠ° Π½Π΅ΠΎΠ±Ρ
ΠΎΠ΄ΠΈΠΌΠΎ ΡΠΈΡΡ ΠΌΠ΅Π΄Π»Π΅Π½Π½ΠΎ, ΠΈ ΠΌΠ°Ρ
ΠΎΠ²ΠΎΠ΅ ΠΊΠΎΠ»Π΅ΡΠΎ ΠΏΠΎΠ²ΠΎΡΠ°ΡΠΈΠ²Π°ΡΡ ΡΡΠΊΠΎΠΉ.
ΠΡΠΈ ΡΠΈΡΡΠ΅ ΡΠΎΠ½ΠΊΠΈΡ
ΠΌΠ°ΡΠ΅ΡΠΈΠ°Π»ΠΎΠ², Π½Π°ΠΏΡΠΈΠΌΠ΅Ρ ΡΠ΅Π»ΠΊΠ° ΠΈ Ρ. Π΄., ΡΠ΅ΠΊΠΎΠΌΠ΅Π½Π΄ΡΠ΅ΡΡΡ Π»Π΅Π³ΠΊΠΎΠ΅ ΠΏΠΎΠ΄ΡΡΠ³ΠΈΠ²Π°Π½ΠΈΠ΅ ΠΌΠ°ΡΠ΅ΡΠΈΠ°Π»Π° Π·Π° Π»Π°ΠΏΠΊΠΎΠΉ, ΡΡΠΎΠ±Ρ ΠΈΠ·Π±Π΅ΠΆΠ°ΡΡ ΡΡΡΠ³ΠΈΠ²Π°Π½ΠΈΡ ΡΠ²Π°.
7. Π£Ρ ΠΎΠ΄, ΡΠΌΠ°Π·ΠΊΠ°. ΠΠ½ΡΡΡΡΠΊΡΠΈΡ ΠΊ ΡΠ²Π΅ΠΉΠ½ΠΎΠΉ ΠΌΠ°ΡΠΈΠ½Π΅ Π§Π°ΠΉΠΊΠ°, ΠΠΎΠ΄ΠΎΠ»ΡΡΠΊ
ΠΠ»Ρ ΠΎΠ±Π΅ΡΠΏΠ΅ΡΠ΅Π½ΠΈΡ Π»Π΅Π³ΠΊΠΎΠ³ΠΎ Ρ
ΠΎΠ΄Π° ΠΌΠ°ΡΠΈΠ½Ρ ΠΈ ΠΏΡΠ΅Π΄ΡΠΏΡΠ΅ΠΆΠ΄Π΅Π½ΠΈΡ ΠΈΠ·Π½ΠΎΡΠ° Π²ΡΠ΅ ΠΌΠ΅ΡΡΠ°, ΡΠΊΠ°Π·Π°Π½Π½ΡΠ΅ ΡΡΡΠ΅Π»ΠΊΠ°ΠΌΠΈ, Π΄ΠΎΠ»ΠΆΠ½Ρ ΡΠΌΠ°Π·ΡΠ²Π°ΡΡΡΡ ΠΎΠ΄Π½ΠΎΠΉ-Π΄Π²ΡΠΌΡ ΠΊΠ°ΠΏΠ»ΡΠΌΠΈ ΠΈΠ½Π΄ΡΡΡΡΠΈΠ°Π»ΡΠ½ΠΎΠ³ΠΎ ΠΌΠ°ΡΠ»Π° Π-20Π ΠΠΠ‘Π’ 20799-75.
ΠΠ΅ΡΡΠ° ΡΠΌΠ°Π·ΠΊΠΈ Π³ΠΎΠ»ΠΎΠ²ΠΊΠΈ ΠΌΠ°ΡΠΈΠ½Ρ. (ΡΠΈΡ. 17)
ΠΠ΅ΡΡΠ° ΡΠΌΠ°Π·ΠΊΠΈ ΠΌΠ΅Ρ
Π°Π½ΠΈΠ·ΠΌΠ° Π·ΠΈΠ³Π·Π°Π³Π°. (ΡΠΈΡ 19)
Π§ΠΈΡΡΠΊΠ° ΠΈ ΡΠΌΠ°Π·ΠΊΠ° ΡΠ΅Π»Π½ΠΎΡΠ½ΠΎΠ³ΠΎ ΡΡΡΡΠΎΠΉΡΡΠ²Π°. (ΡΠΈΡ. 20)
Π’ΡΠΆΠ΅Π»ΡΠΉ Ρ
ΠΎΠ΄ ΠΌΠ°ΡΠΈΠ½Ρ, Π° ΠΈΠ½ΠΎΠ³Π΄Π° ΠΈ Π·Π°ΠΊΠ»ΠΈΠ½ΠΈΠ²Π°Π½ΠΈΠ΅ ΠΌΠΎΠΆΠ΅Ρ ΠΏΡΠΎΠΈΡΡ
ΠΎΠ΄ΠΈΡΡ ΠΎΡ Π·Π°Π³ΡΡΠ·Π½Π΅Π½ΠΈΡ Ρ
ΠΎΠ΄Π° ΡΠ΅Π»Π½ΠΎΠΊΠ°. Π₯ΠΎΠ΄ Π·Π°ΡΠΎΡΡΠ΅ΡΡΡ ΠΎΠ±ΡΡΠ²ΠΊΠ°ΠΌΠΈ Π½ΠΈΡΠΎΠΊ, ΠΎΡΠ΅ΡΠ°ΠΌΠΈ ΡΠΊΠ°Π½ΠΈ, ΠΏΡΠ»ΡΡ. Π‘ΠΌ. ΡΠ°ΠΊΠΆΠ΅ Π‘ΠΌΠ°Π·ΠΊΠ° ΡΠ²Π΅ΠΉΠ½ΡΡ
ΠΌΠ°ΡΠΈΠ½.
ΠΠ»Ρ ΡΠΈΡΡΠΊΠΈ Ρ ΠΎΠ΄Π° ΡΠ΅Π»Π½ΠΎΠΊΠ° Π½Π΅ΠΎΠ±Ρ ΠΎΠ΄ΠΈΠΌΠΎ ΠΈΠ³Π»ΠΎΠ²ΠΎΠ΄ΠΈΡΠ΅Π»Ρ ΠΏΠΎΡΡΠ°Π²ΠΈΡΡ Π² Π²Π΅ΡΡ Π½Π΅Π΅ ΠΏΠΎΠ»ΠΎΠΆΠ΅Π½ΠΈΠ΅. ΠΡΡΠ°ΡΠΈΡΠ΅ ΡΠΏΡΠ»ΡΠ½ΡΠΉ ΠΊΠΎΠ»ΠΏΠ°ΡΠΎΠΊ 1, ΠΏΠΎΠ²ΠΎΡΠΎΡΠΎΠΌ ΠΏΡΡΠΆΠΈΠ½Π½ΠΎΠ³ΠΎ Π·Π°ΠΌΠΊΠ° Π½Π° ΡΠ΅Π±Ρ ΡΠ½ΡΡΡ Π½Π°ΠΊΠ»Π°Π΄Π½ΠΎΠ΅ ΠΊΠΎΠ»ΡΡΠΎ 2, Π²ΡΠ½ΡΡΡ ΡΠ΅Π»Π½ΠΎΠΊ 3. ΠΠ½Π΅Π·Π΄ΠΎ ΡΠ΅Π»Π½ΠΎΠΊΠ° 4 ΠΎΡΡΠΎΡΠΎΠΆΠ½ΠΎ ΠΎΡΠΈΡΡΠΈΡΡ ΡΠ΅ΡΠΊΠΎΠΉ-ΠΊΠΈΡΡΠΎΡΠΊΠΎΠΉ ΠΎΡ ΠΏΡΠ»ΠΈ Π³ΡΡΠ·ΠΈ, Π½ΠΈΡΠΎΠΊ. ΠΡΠΈ ΡΡΠΎΠΌ Π½Π΅ Π΄ΠΎΠΏΡΡΠΊΠ°Π΅ΡΡΡ Π΄Π»Ρ ΡΠΈΡΡΠΊΠΈ ΠΏΡΠΈΠΌΠ΅Π½ΡΡΡ ΠΌΠ΅ΡΠ°Π»Π»ΠΈΡΠ΅ΡΠΊΠΈΠ΅ ΠΏΡΠ΅Π΄ΠΌΠ΅ΡΡ, ΡΡΠΎΠ±Ρ Π½Π΅ ΠΏΠΎΠ²ΡΠ΅Π΄ΠΈΡΡ ΡΠΈΡΡΠΎΡΡ ΡΠ°Π±ΠΎΡΠ΅ΠΉ ΠΏΠΎΠ²Π΅ΡΡ Π½ΠΎΡΡΠΈ. ΠΠ°ΠΏΡΠ°Π²Π»Π΅Π½ΠΈΠ΅ Π΄Π»Ρ ΡΠ΅Π»Π½ΠΎΠΊΠ° Π² ΠΊΠΎΡΠΏΡΡΠ΅ Ρ ΠΎΠ΄Π° ΠΈ ΡΠΏΠΈΠ½Π΄Π΅Π»Ρ ΠΌΠΎΡΠ°Π»ΠΊΠΈ ΡΠΌΠ°Π·ΡΠ²Π°ΡΡΡΡ ΡΠ°ΠΊΠΆΠ΅ 1-2 ΠΊΠ°ΠΏΠ»ΡΠΌΠΈ ΠΌΠ°ΡΠ»Π°.
ΠΠ°ΡΡΡΠΎΠΉΠΊΠ° ΡΠ΅Π»Π½ΠΎΠΊΠ° ΡΠ²Π΅ΠΉΠ½ΠΎΠΉ ΠΌΠ°ΡΠΈΠ½Ρ Π§Π°ΠΉΠΊΠ°
ΠΠ°ΠΊ ΡΡΡΡΠΎΠ΅Π½ Π²Π΅ΡΡΠΊΠ°Π»ΡΠ½ΡΠΉ ΡΠ΅Π»Π½ΠΎΠΊ. ΠΠΎΠ·ΠΌΠΎΠΆΠ½ΡΠ΅ Π΅Π³ΠΎ Π½Π΅ΠΈΡΠΏΡΠ°Π²Π½ΠΎΡΡΠΈ ΠΈ ΡΠΏΠΎΡΠΎΠ±Ρ ΠΈΡ
ΡΡΡΡΠ°Π½Π΅Π½ΠΈΡ. Π§Π΅Π»Π½ΠΎΠΊ ΡΠ²Π΅ΠΉΠ½ΠΎΠΉ ΠΌΠ°ΡΠΈΠ½Ρ ΡΠΈΠΏΠ° Π§Π°ΠΉΠΊΠ°.
ΠΠ΅ΠΏΠΎΠ»Π°Π΄ΠΊΠΈ, Π½Π΅ΠΈΡΠΏΡΠ°Π²Π½ΠΎΡΡΠΈ, ΡΠ΅ΠΌΠΎΠ½Ρ ΡΠ²Π΅ΠΉΠ½ΡΡ
ΠΌΠ°ΡΠΈΠ½
ΠΠ½ΡΡΡΡΠΊΡΠΈΡ ΡΠ²Π΅ΠΉΠ½ΠΎΠΉ ΠΌΠ°ΡΠΈΠ½Ρ Π§Π°ΠΉΠΊΠ° Π½Π΅ ΡΠΎΠ΄Π΅ΡΠΆΠΈΡ ΡΠ°Π·Π΄Π΅Π» ΠΎ ΡΠΎΠΌ, ΠΊΠ°ΠΊ Π½Π°ΡΡΡΠ°ΠΈΠ²Π°ΡΡ ΡΠ²Π΅ΠΉΠ½ΡΡ ΠΌΠ°ΡΠΈΠ½ΠΊΡ. ΠΠ΄Π½Π°ΠΊΠΎ Π½Π΅ΡΠ΅Π΄ΠΊΠΎ ΠΌΠ°ΡΠΈΠ½ΠΊΡ Π§Π°ΠΉΠΊΠ° ΠΈΠ»ΠΈ ΠΠΎΠ΄ΠΎΠ»ΡΡΠΊΠ°Ρ Π½Π΅ΠΎΠ±Ρ
ΠΎΠ΄ΠΈΠΌΠΎ ΡΠ΅Π³ΡΠ»ΠΈΡΠΎΠ²Π°ΡΡ ΠΈ Π½Π°ΡΡΡΠ°ΠΈΠ²Π°ΡΡ. ΠΠ½ΠΎΠ³Π΄Π° ΠΌΠ°ΡΠΈΠ½ΠΊΠ° Π»ΠΎΠΌΠ°Π΅Ρ ΠΈΠ³ΠΎΠ»ΠΊΡ, Π² ΡΡΡΠΎΡΠΊΠ΅ ΠΏΠΎΡΠ²Π»ΡΡΡΡΡ ΠΏΡΠΎΠΏΡΡΠΊΠΈ ΠΈΠ»ΠΈ ΠΎΠ±ΡΡΠ²Π°Π΅ΡΡΡ Π½ΠΈΡΠΊΠ°. ΠΠΎΡΠ΅ΠΌΡ ΡΡΠΎ ΠΏΡΠΎΠΈΡΡ
ΠΎΠ΄ΠΈΡ, ΠΈ ΠΊΠ°ΠΊ ΡΡΡΡΠ°Π½ΠΈΡΡ ΡΠ°ΠΊΠΈΠ΅ Π½Π΅ΠΈΡΠΏΡΠ°Π²Π½ΠΎΡΡΠΈ ΡΠ²ΠΎΠΈΠΌΠΈ ΡΡΠΊΠ°ΠΌΠΈ ΡΠΈΡΠ°ΠΉΡΠ΅ Π² ΡΡΠΎΠΉ ΡΡΠ°ΡΡΠ΅.
ΠΡΠΎΠΌΡΡΠ»Π΅Π½Π½ΡΠ΅ ΠΌΠ°ΡΠΈΠ½Ρ 1022, 22 ΠΊΠ»Π°ΡΡΠ°
ΠΠ΅ΡΠΌΠΎΡΡΡ Π½Π° ΡΠΎ, ΡΡΠΎ Π² ΡΡΠΎΠΉ ΡΡΠ°ΡΡΠ΅ ΡΠ΅ΡΡ ΠΈΠ΄Π΅Ρ ΠΎ ΠΏΡΠΎΠΌΡΡΠ»Π΅Π½Π½ΠΎΠΉ ΠΌΠ°ΡΠΈΠ½Π΅ 22 ΠΊΠ»Π°ΡΡΠ°, ΠΌΠ°ΡΠ΅ΡΠΈΠ°Π» ΡΡΠΎΠΉ ΡΡΠ°ΡΡΠΈ ΡΠ°ΠΉΡΠ° ΠΌΠΎΠΆΠ½ΠΎ ΠΈΡΠΏΠΎΠ»ΡΠ·ΠΎΠ²Π°ΡΡ Π΄Π»Ρ Π½Π°ΡΡΡΠΎΠΉΠΊΠΈ ΡΠ²Π΅ΠΉΠ½ΡΡ
ΠΌΠ°ΡΠΈΠ½ Π§Π°ΠΉΠΊΠ°, ΠΠΎΠ΄ΠΎΠ»ΡΡΠΊ, ΠΠΈΠ½Π³Π΅Ρ Π»ΡΠ±ΡΡ
ΠΌΠΎΠ΄Π΅Π»Π΅ΠΉ. ΠΠ±ΡΠ·Π°ΡΠ΅Π»ΡΠ½ΠΎ ΠΏΡΠΎΡΠΈΡΠ°ΠΉΡΠ΅, Π΅ΡΠ»ΠΈ Π²Ρ ΡΠΎΠ±ΠΈΡΠ°Π΅ΡΠ΅ΡΡ ΡΠ²ΠΎΠΈΠΌΠΈ ΡΡΠΊΠ°ΠΌΠΈ Π²ΡΠΏΠΎΠ»Π½ΡΡΡ ΡΠ΅ΠΌΠΎΠ½Ρ ΠΌΠ°ΡΠΈΠ½ΠΊΠΈ.
Π Π΅ΠΌΠΎΠ½Ρ ΡΠ²Π΅ΠΉΠ½ΡΡ
ΠΌΠ°ΡΠΈΠ½ Π§Π°ΠΉΠΊΠ°
ΠΠ½ΡΡΡΡΠΊΡΠΈΡ ΠΊ ΡΠ²Π΅ΠΉΠ½ΠΎΠΉ ΠΌΠ°ΡΠΈΠ½ΠΊΠ΅ Π§Π°ΠΉΠΊΠ° ΠΈΠΌΠ΅Π΅Ρ ΡΡΠ΄ ΡΠ°Π±Π»ΠΈΡ, Π² ΠΊΠΎΡΠΎΡΡΡ
ΡΠΊΠ°Π·Π°Π½Π° ΡΠ΅ΠΊΠΎΠΌΠ΅Π½Π΄ΡΠ΅ΠΌΠ°Ρ ΡΠΎΠ»ΡΠΈΠ½Π° ΠΈΠ³ΠΎΠ»ΠΎΠΊ ΠΈ Π½ΠΈΡΠΎΠΊ ΠΏΡΠΈ ΠΏΠΎΡΠΈΠ²Π΅ ΡΠ°Π·Π»ΠΈΡΠ½ΡΡ
ΡΠΊΠ°Π½Π΅ΠΉ. Π ΡΠΎΠΆΠ°Π»Π΅Π½ΠΈΡ, ΡΠ΅Π΄ΠΊΠΎ ΠΊΡΠΎ ΠΎΠ±ΡΠ°ΡΠ°Π΅Ρ Π²Π½ΠΈΠΌΠ°Π½ΠΈΠ΅ Π½Π° ΡΡΠΎΡ ΡΠ°Π·Π΄Π΅Π» ΠΈΠ½ΡΡΡΡΠΊΡΠΈΠΈ. Π ΡΠ΅Π·ΡΠ»ΡΡΠ°ΡΠ΅ ΡΠ²Π΅ΠΉΠ½Π°Ρ ΠΌΠ°ΡΠΈΠ½Π° Π§Π°ΠΉΠΊΠ° Π½Π°ΡΠΈΠ½Π°Π΅Ρ Π΄Π΅Π»Π°ΡΡ ΠΏΡΠΎΠΏΡΡΠΊΠΈ ΡΡΠ΅ΠΆΠΊΠΎΠ², ΠΎΠ±ΡΡΠ²Π°ΡΡ Π½ΠΈΡΠΊΡ, ΠΏΠ΅ΡΠ»ΡΡΡ ΠΈ ΠΏΡΠΈΡ
ΠΎΠ΄ΠΈΡΡΡ Π΅Π΅ Π½Π°ΡΡΡΠ°ΠΈΠ²Π°ΡΡ.
Π Π΅ΠΌΠΎΠ½Ρ ΡΠ²Π΅ΠΉΠ½ΡΡ
ΠΌΠ°ΡΠΈΠ½ ΠΠΎΠ΄ΠΎΠ»ΡΡΠΊ
Π Π΅ΠΌΠΎΠ½Ρ ΡΠ²Π΅ΠΉΠ½ΡΡ
ΠΌΠ°ΡΠΈΠ½ ΠΠΎΠ΄ΠΎΠ»ΡΡΠΊ, ΠΠΈΠ½Π³Π΅Ρ ΠΌΠΎΠΆΠ½ΠΎ Π²ΡΠΏΠΎΠ»Π½ΠΈΡΡ ΡΠ°ΠΌΠΎΡΡΠΎΡΡΠ΅Π»ΡΠ½ΠΎ, Π΅ΡΠ»ΠΈ ΡΡΠΎ Π½Π΅ ΡΠ²ΡΠ·Π°Π½ΠΎ Ρ Π·Π°ΠΌΠ΅Π½ΠΎΠΉ Π΄Π΅ΡΠ°Π»Π΅ΠΉ ΠΈΠ»ΠΈ ΡΠ»ΠΎΠΆΠ½ΠΎΠΉ ΡΠ΅Π³ΡΠ»ΠΈΡΠΎΠ²ΠΊΠΎΠΉ Π½Π΅ΠΊΠΎΡΠΎΡΡΡ
ΡΠ·Π»ΠΎΠ². Π§Π°ΡΡΠΎ ΠΏΡΠΈΡΠΈΠ½ΠΎΠΉ «ΠΏΠΎΠ»ΠΎΠΌΠΎΠΌ» ΡΡΠ°Π½ΠΎΠ²ΠΈΡΡΡ Π½Π΅Π²Π½ΠΈΠΌΠ°ΡΠ΅Π»ΡΠ½ΠΎΡΡΡ ΠΈΠ»ΠΈ Π½Π΅ΡΠΎΠ±Π»ΡΠ΄Π΅Π½ΠΈΠ΅ ΠΏΡΠ°Π²ΠΈΠ» ΡΠΊΡΠΏΠ»ΡΠ°ΡΠ°ΡΠΈΠΈ ΡΠΎΠ³Π»Π°ΡΠ½ΠΎ ΠΈΠ½ΡΡΡΡΠΊΡΠΈΠΈ ΠΊ ΡΠ²Π΅ΠΉΠ½ΠΎΠΉ ΠΌΠ°ΡΠΈΠ½Π΅ ΠΠΎΠ΄ΠΎΠ»ΡΡΠΊ. ΠΠ½ΠΎΠ³Π΄Π° Π΄ΠΎΡΡΠ°ΡΠΎΡΠ½ΠΎ ΠΏΡΠ°Π²ΠΈΠ»ΡΠ½ΠΎ ΡΡΡΠ°Π½ΠΎΠ²ΠΈΡΡ ΠΈΠ³ΠΎΠ»ΠΊΡ ΠΈ ΠΌΠ°ΡΠΈΠ½ΠΊΠ° Π±ΡΠ΄Π΅Ρ ΡΠΈΡΡ ΡΠ½ΠΎΠ²Π° Π±Π΅Π· ΠΏΡΠΎΠΏΡΡΠΊΠΎΠ² ΠΈ ΠΎΠ±ΡΡΠ²Π° Π½ΠΈΡΠΊΠΈ.
ΠΡΠΈΠ²ΠΎΠ΄ Π½ΠΎΠΆΠ½ΠΎΠΉ ΡΠ²Π΅ΠΉΠ½ΠΎΠΉ ΠΌΠ°ΡΠΈΠ½Ρ
ΠΠ½ΠΎΠ³ΠΈΠ΅ ΠΌΠΎΠ΄Π΅Π»ΠΈ ΡΠ²Π΅ΠΉΠ½ΡΡ
ΠΌΠ°ΡΠΈΠ½ Π§Π°ΠΉΠΊΠ° ΠΈ ΠΠΎΠ΄ΠΎΠ»ΡΡΠΊ, ΠΠΈΠ½Π³Π΅Ρ ΠΎΡΠ½Π°ΡΠ΅Π½Ρ Π½ΠΎΠΆΠ½ΡΠΌ ΠΏΡΠΈΠ²ΠΎΠ΄ΠΎΠΌ. ΠΠΎΠΆΠ½ΠΎΠΉ ΠΏΡΠΈΠ²ΠΎΠ΄ ΡΡΠΈΡ
ΠΌΠ°ΡΠΈΠ½ΠΎΠΊ ΠΈΠΌΠ΅Π΅Ρ ΠΎΠ΄ΠΈΠ½Π°ΠΊΠΎΠ²ΠΎΠ΅ ΡΡΡΡΠΎΠΉΡΡΠ²ΠΎ, Π½Π΅ΡΠΌΠΎΡΡΡ Π½Π° Π²Π½Π΅ΡΠ½Π΅Π΅ ΠΎΡΠ»ΠΈΡΠΈΠ΅. ΠΠ°ΠΊ ΠΏΡΠ°Π²ΠΈΠ»ΠΎ, Π² ΠΈΠ½ΡΡΡΡΠΊΡΠΈΠΈ ΠΊ Π§Π°ΠΉΠΊΠ΅ ΠΈΠ»ΠΈ ΠΠΎΠ΄ΠΎΠ»ΡΡΠΊ Π½Π΅ ΡΠΊΠ°Π·Π°Π½ΠΎ, ΠΊΠ°ΠΊ ΡΠ΅Π³ΡΠ»ΠΈΡΠΎΠ²Π°ΡΡ ΠΏΡΠΈΠ²ΠΎΠ΄. ΠΠ΄Π½Π°ΠΊΠΎ, Π·Π° ΠΌΠ½ΠΎΠ³ΠΈΠ΅ Π³ΠΎΠ΄Ρ ΡΠΊΡΠΏΠ»ΡΠ°ΡΠ°ΡΠΈΠΈ, ΡΡΠΎ ΡΡΠ΅Π±ΡΠ΅ΡΡΡ ΡΠ΄Π΅Π»Π°ΡΡ. ΠΠΎΠ΄ΡΠΎΠ±Π½ΡΡ ΠΈΠ½ΡΡΡΡΠΊΡΠΈΡ ΠΎ ΡΠΎΠΌ, ΠΊΠ°ΠΊ ΡΡΡΡΠΎΠ΅Π½ ΠΏΡΠΈΠ²ΠΎΠ΄, ΡΠΈΡΠ°ΠΉΡΠ΅ Π² ΡΡΠΎΠΉ ΡΡΠ°ΡΡΠ΅.
ΠΠ°ΡΡΠΆΠΈΡΠ΅Π»Ρ Π²Π΅ΡΡ
Π½Π΅ΠΉ Π½ΠΈΡΠΈ ΡΠ²Π΅ΠΉΠ½ΠΎΠΉ ΠΌΠ°ΡΠΈΠ½Ρ
ΠΡΠ»ΠΈ Π² ΡΡΡΠΎΡΠΊΠ΅ ΠΏΠΎΡΠ²Π»ΡΡΡΡΡ ΠΏΠ΅ΡΠ»ΠΈ ΡΠ½ΠΈΠ·Ρ, Π²ΠΎΠ·ΠΌΠΎΠΆΠ½ΠΎ ΠΏΡΠΈΡΠΈΠ½ΠΎΠΉ ΡΠΎΠΌΡ ΡΠ²Π»ΡΠ΅ΡΡΡ Π½Π°ΡΡΠΆΠΈΡΠ΅Π»Ρ Π²Π΅ΡΡ
Π½Π΅ΠΉ Π½ΠΈΡΠΈ. Π ΡΠΎΠΌ, ΠΊΠ°ΠΊ ΡΡΡΡΠΎΠ΅Π½ ΡΠ΅Π³ΡΠ»ΡΡΠΎΡ Π½Π°ΡΡΠΆΠ΅Π½ΠΈΡ Π½ΠΈΡΠΊΠΈ.
All rights reserved Β© / 2011 / Sewing-Master.ru / How to repair sewing machine at home by yourself / MY-Project
Π£ Π²Π°Ρ Π΅ΡΡΡ ΡΠ²Π΅ΠΉΠ½Π°Ρ ΠΌΠ°ΡΠΈΠ½ΠΊΠ°, ΠΈ Π²Ρ Π»ΡΠ±ΠΈΡΠ΅ ΡΠΈΡΡ? Π’ΠΎΠ³Π΄Π° ΡΡΠΎΡ ΡΠ°ΠΉΡ Π΄Π»Ρ Π²Π°Ρ. ΠΡΠΎΡΠ΅ΡΡΠΈΠΎΠ½Π°Π»ΡΠ½ΡΠ΅ ΠΌΠ°ΡΡΠ΅ΡΠ° ΠΏΠΎΠ΄ΡΠΊΠ°ΠΆΡΡ Π²Π°ΠΌ ΠΊΠ°ΠΊ Π²ΡΠΏΠΎΠ»Π½ΠΈΡΡ ΠΌΠ΅Π»ΠΊΠΈΠΉ ΡΠ΅ΠΌΠΎΠ½Ρ ΡΠ²Π΅ΠΉΠ½ΠΎΠΉ, Π²ΡΠ·Π°Π»ΡΠ½ΠΎΠΉ ΠΌΠ°ΡΠΈΠ½ΠΊΠΈ. ΠΠΏΡΡΠ½ΡΠ΅ ΡΠ΅Ρ
Π½ΠΎΠ»ΠΎΠ³ΠΈ ΠΏΠΎΠ΄Π΅Π»ΡΡΡΡ ΡΠ΅ΠΊΡΠ΅ΡΠ°ΠΌΠΈ ΠΏΠΎΡΠΈΠ²Π° ΠΎΠ΄Π΅ΠΆΠ΄Ρ. ΠΠ±Π·ΠΎΡΠ½ΡΠ΅ ΡΡΠ°ΡΡΠΈ ΠΏΠΎΠ΄ΡΠΊΠ°ΠΆΡΡ, ΠΊΠ°ΠΊΡΡ ΠΊΡΠΏΠΈΡΡ ΡΠ²Π΅ΠΉΠ½ΡΡ ΠΈΠ»ΠΈ Π²ΡΠ·Π°Π»ΡΠ½ΡΡ ΠΌΠ°ΡΠΈΠ½Ρ, ΡΡΡΠ³ ΠΌΠ°Π½Π΅ΠΊΠ΅Π½ ΠΈ ΠΌΠ½ΠΎΠ³ΠΎ Π΄ΡΡΠ³ΠΈΡ
ΠΏΠΎΠ»Π΅Π·Π½ΡΡ
ΡΠΎΠ²Π΅ΡΠΎΠ² Π²Ρ Π½Π°ΠΉΠ΄Π΅ΡΠ΅ Π½Π° Π½Π°ΡΠ΅ΠΌ ΡΠ°ΠΉΡΠ΅.
Π‘ΠΏΠ°ΡΠΈΠ±ΠΎ, ΡΡΠΎ Π²Ρ ΠΏΠΎΠ»Π½ΠΎΡΡΡΡ ΠΏΡΠΎΡΠΌΠΎΡΡΠ΅Π»ΠΈ ΡΡΡΠ°Π½ΠΈΡΡ.
ΠΠΎΠΏΠΈΡΠΎΠ²Π°Π½ΠΈΠ΅ ΠΈ ΠΏΠ΅ΡΠ΅ΠΏΠ΅ΡΠ°ΡΠΊΠ° ΡΡΠ°ΡΠ΅ΠΉ ΡΠ°ΠΉΡΠ° «Π¨Π²Π΅ΠΉΠ½ΡΠΉ ΠΌΠ°ΡΡΠ΅Ρ» Π±Π΅Π· ΡΠΎΠ³Π»Π°ΡΠΈΡ Π°Π²ΡΠΎΡΠ° Π·Π°ΠΏΡΠ΅ΡΠ΅Π½Π°.
ΠΠ²ΡΠΎΡΡΠΊΠΈΠ΅ ΠΏΡΠ°Π²Π° Π·Π°ΡΠΈΡΠ°ΡΡΡΡ Π·Π°ΠΊΠΎΠ½ΠΎΠΌ.
Π¨Π²Π΅ΠΉΠ½Π°Ρ ΠΌΠ°ΡΠΈΠ½Π° Β«Π§ΠΠΠΠΒ»-142Π ΠΠ. ΠΠΠ
(Π²ΡΠΏΡΡΠΊΠ° Π΄ΠΎ 1990 Π³.) (ΡΠΌ. Β«ΠΠΎΠ΄ΠΎΠ»ΡΡΠΊΒ»-142 β Π±Π°Π·ΠΎΠ²ΠΎΠ΅ ΠΎΠΏΠΈΡΠ°Π½ΠΈΠ΅)
ΠΠ°ΡΠΈΠ½Π° ΡΠ»ΠΎΠΆΠ½ΠΎΠ³ΠΎ Π·ΠΈΠ³Π·Π°Π³Π°, Π²ΡΠΏΠΎΠ»Π½ΡΡΡΠ°Ρ ΡΠΏΠ΅ΡΠΈΠ°Π»ΡΠ½ΡΠ΅ ΠΈ Π΄Π΅ΠΊΠΎΡΠ°ΡΠΈΠ²Π½ΡΠ΅ ΡΡΡΠΎΡΠΊΠΈ. ΠΠ°ΡΠΈΠ°Π½Ρ ΠΈΡΠΏΠΎΠ»Π½Π΅Π½ΠΈΡ Ρ ΡΠ»Π΅ΠΊΡΡΠΈΡΠ΅ΡΠΊΠΈΠΌ ΠΏΡΠΈΠ²ΠΎΠ΄ΠΎΠΌ. ΠΡΠ° ΠΌΠ°ΡΠΈΠ½Π° Π°Π½Π°Π»ΠΎΠ³ΠΈΡΠ½Π° ΠΌΠ°ΡΠΈΠ½Π΅ Β«ΠΠΎΠ΄ΠΎΠ»ΡΡΠΊΒ»-142 ΠΊΠ»., ΠΊΠΎΡΠΎΡΠ°Ρ ΠΏΠΎΠ΄ΡΠΎΠ±Π½ΠΎ ΡΠ°ΡΡΠΌΠΎΡΡΠ΅Π½Π°. ΠΠΎΡΡΠΎΠΌΡ Π² Π΄Π°Π½Π½ΠΎΠΌ ΡΠ»ΡΡΠ°Π΅ ΠΌΠ°ΡΠΈΠ½Π° ΠΎΠΏΠΈΡΠ°Π½Π° Π»ΠΈΡΡ Ρ ΡΡΠ΅ΡΠΎΠΌ Π΅Π΅ ΠΊΠΎΠ½ΡΡΡΡΠΊΡΠΈΠ²Π½ΡΡ ΠΎΡΠΎΠ±Π΅Π½Π½ΠΎΡΡΠ΅ΠΉ.
Π ΠΈΡ. 75. ΠΠ΅ΠΊΠΎΡΠΎΡΡΠ΅ ΡΠ°ΡΡΠΈ ΡΠ΅Π³ΡΠ»ΡΡΠΎΡΠ° Π½Π°ΡΡΠΆΠ΅Π½ΠΈΡ Π²Π΅ΡΡ
Π½Π΅ΠΉ Π½ΠΈΡΠΊΠΈ
(ΠΌΠ°ΡΠΈΠ½Ρ Β«Π§Π°ΠΉΠΊΠ°Β»-142Π ΠΊ Π»., Β«Π§Π°ΠΉΠΊΠ°Β»-132Π ΠΊΠ». Π²ΡΠΏΡΡΠΊΠ° Π΄ΠΎ 1990 Π³.):
ΠΠ»Ρ ΡΠ΅ΠΌΠΎΠ½ΡΠ° ΡΠ΅Π³ΡΠ»ΡΡΠΎΡΠ° Π½Π΅ΠΎΠ±Ρ ΠΎΠ΄ΠΈΠΌΠΎ Π²ΡΠ²Π΅ΡΠ½ΡΡΡ ΡΡΠΎΠΏΠΎΡΠ½ΡΠΉ Π²ΠΈΠ½Ρ, Π²ΡΠ½ΡΡΡ ΡΠ΅Π³ΡΠ»ΡΡΠΎΡ ΠΈ ΡΠ°Π·ΠΎΠ±ΡΠ°ΡΡ Π΅Π³ΠΎ ΠΏΠΎΠ»Π½ΠΎΡΡΡΡ (ΡΠΈΡ. 75). ΠΠ· ΠΎΠ±ΠΎΠ΄Π½ΠΎΠΉ Π»Π΅Π½ΡΡ ΡΠΎΠ»ΡΠΈΠ½ΠΎΠΉ 0,2 ΠΌΠΌ ΠΎΡΡΠ΅Π·Π°ΡΡ ΠΊΡΡΠΎΠΊ Π΄Π»ΠΈΠ½ΠΎΠΉ 50 ΠΌΠΌ. ΠΠ° ΠΎΠ΄Π½ΠΎΠΉ ΡΡΠΎΡΠΎΠ½Π΅ ΠΊΡΡΠΊΠ° ΠΏΠΎ Π²ΡΠ΅ΠΉ Π΄Π»ΠΈΠ½Π΅ ΡΠ΄Π΅Π»Π°ΡΡ ΠΊΠΎΡΠΎΡΠΊΠΈΠ΅ Π½Π°Π΄ΡΠ΅Π·Ρ 2 ΠΈ ΠΈΠ·ΠΎΠ³Π½ΡΡΡ Π·Π°Π³ΠΎΡΠΎΠ²ΠΊΡ Π² ΡΠΈΠ»ΠΈΠ½Π΄Ρ 3. ΠΠ°Π΄ΡΠ΅Π·Ρ Π·Π°Π³Π½ΡΡΡ Π²Π½ΡΡΡΡ ΡΠΈΠ»ΠΈΠ½Π΄ΡΠ° 3. ΠΡΡΠ°Π²ΠΈΡΡ Π·Π°Π³ΠΎΡΠΎΠ²ΠΊΡ-ΡΠΈΠ»ΠΈΠ½Π΄Ρ 5 Π² ΠΎΡΠ²Π΅ΡΡΡΠΈΠ΅ Π΄Π»Ρ ΡΠ΅Π³ΡΠ»ΡΡΠΎΡΠ°.
Π ΠΎΠ±ΡΠ°Π·ΠΎΠ²Π°Π²ΡΡΡΡΡ ΡΠ±ΠΎΠΊΡ ΡΠΈΠ»ΠΈΠ½Π΄ΡΠ° ΡΠ΅Π»Ρ ΡΠΈΡΠΈΠ½ΠΎΠΉ 3,5 ΠΌΠΌ Π²ΡΡΠ°Π²ΠΈΡΡ ΠΏΠΈΠ½ΡΠ΅Ρ ΠΈ Π·Π°Ρ Π²Π°ΡΠ°ΡΡ ΠΊΠΎΠ½Π΅Ρ ΡΠΎΠ»ΠΊΠ°ΡΠ΅Π»Ρ. Π£ΡΡΠ°Π½ΠΎΠ²ΠΈΠ² Π΅Π³ΠΎ Π½Π° ΡΠ΅Π½ΡΡΠ΅ ΠΎΡΠ²Π΅ΡΡΡΠΈΡ, Π»Π΅Π²ΠΎΠΉ ΡΡΠΊΠΎΠΉ Π²ΡΡΠ°Π²ΠΈΡΡ ΠΏΠ»Π°ΡΡΠΌΠ°ΡΡΠΎΠ²ΠΎΠ΅ ΠΎΡΠ½ΠΎΠ²Π°Π½ΠΈΠ΅ 1 ΡΠ΅Π³ΡΠ»ΡΡΠΎΡΠ° Π² ΡΠΈΠ»ΠΈΠ½Π΄Ρ ΡΠ°ΠΊ, ΡΡΠΎΠ±Ρ ΠΊΠΎΠ½Π΅Ρ ΡΠΎΠ»ΠΊΠ°ΡΠ΅Π»Ρ, ΠΏΡΠΈΠ΄Π΅ΡΠΆΠΈΠ²Π°Π΅ΠΌΡΠΉ ΠΏΠΈΠ½ΡΠ΅ΡΠΎΠΌ, Π²ΠΎΡΠ΅Π» Π² ΠΎΡΠ½ΠΎΠ²Π°Π½ΠΈΠ΅ 1 ΡΠ΅Π³ΡΠ»ΡΡΠΎΡΠ°. ΠΠΎΠ»ΡΡΠΎΠΉ ΠΏΠ΅ΡΠ²ΠΎΠΉ ΡΠ°ΠΉΠ±ΠΎΠΉ 4 Ρ ΠΊΡΡΡΠΊΠΎΠΌ Π΄Π»Ρ Π½ΠΈΡΠΊΠΈ ΠΏΠΎΠ²Π΅ΡΠ½ΡΡΡ ΠΎΡΠ½ΠΎΠ²Π°Π½ΠΈΠ΅ ΡΠ΅Π³ΡΠ»ΡΡΠΎΡΠ° Π² ΠΏΡΠ°Π²ΠΈΠ»ΡΠ½ΠΎΠ΅ ΠΏΠΎΠ»ΠΎΠΆΠ΅Π½ΠΈΠ΅. Π£Π³ΠΎΠ» ΠΌΠ΅ΠΆΠ΄Ρ Π²Π΅ΡΡΠΈΠΊΠ°Π»ΡΡ ΠΈ ΠΊΡΡΡΠΊΠΎΠΌ β 30Β° (Π²ΠΌΡΡΠΈΠ½ΠΎΠΉ ΠΊ ΡΡΠΎΠΏΠΎΡΠ½ΠΎΠΌΡ Π²ΠΈΠ½ΡΡ).
ΠΠΎΠ»ΠΎΠΆΠΈΡΡ ΠΌΠ°ΡΠΈΠ½Ρ Π½Π° Π·Π°Π΄Π½ΡΡ ΡΡΠΎΡΠΎΠ½Ρ, Π½Π° ΠΎΡΠ½ΠΎΠ²Π°Π½ΠΈΠ΅ ΡΠ΅Π³ΡΠ»ΡΡΠΎΡΠ° Π½Π°Π»ΠΎΠΆΠΈΡΡ ΡΠΎΠΆΠΊΠΎΠ²ΡΠΉ ΠΊΠ»ΡΡ 12×14 (ΠΊΠΎΠ½ΡΠΎΠΌ Π½Π° 12) ΠΈ ΠΌΠΎΠ»ΠΎΡΠΎΡΠΊΠΎΠΌ Π·Π°ΠΏΡΠ΅ΡΡΠΎΠ²Π°ΡΡ ΠΎΡΠ½ΠΎΠ²Π°Π½ΠΈΠ΅ ΡΠ΅Π³ΡΠ»ΡΡΠΎΡΠ° Π² ΠΎΡΠ²Π΅ΡΡΡΠΈΠ΅ ΠΌΠ°ΡΠΈΠ½Ρ. ΠΠ½ΠΎ Π·Π°ΠΉΠ΄Π΅Ρ Π²ΠΌΠ΅ΡΡΠ΅ Ρ ΡΠΈΠ»ΠΈΠ½Π΄ΡΠΎΠΌ, ΡΠ°ΠΊ ΠΊΠ°ΠΊ Π±ΠΎΡΡ ΠΈΠ· Π½Π°Π΄ΡΠ΅Π·ΠΎΠ² ΡΠΎΠ΅Π΄ΠΈΠ½ΠΈΠ» Π΅Π³ΠΎ Ρ ΠΎΡΠ½ΠΎΠ²Π°Π½ΠΈΠ΅ΠΌ. ΠΠ°Π΄Π΅ΡΡ Π½Π° ΠΎΡΡ Π½ΠΈΡΠ΅Π·Π°ΠΆΠΈΠΌΠ½ΡΠ΅ ΡΠ°ΠΉΠ±Ρ, ΠΎΡΠΆΠΈΠΌΠ½ΡΡ, ΠΊΠΎΠ½ΠΈΡΠ΅ΡΠΊΡΡ ΠΏΡΡΠΆΠΈΠ½Ρ ΠΈ Π³Π°ΠΉΠΊΡ. ΠΠ»ΠΎΠΆΠΈΡΡ Π½ΠΈΡΠΊΡ Π² ΡΠ΅Π³ΡΠ»ΡΡΠΎΡ ΠΈ ΠΏΠΎΠΏΡΠΎΠ±ΠΎΠ²Π°ΡΡ Π½ΠΈΡΠΊΡ Π½Π° ΠΎΡΠΆΠΈΠΌ, Ρ. Π΅. ΠΏΡΠΎΠ²Π΅ΡΠΈΡΡ, Π΅ΡΡΡ Π»ΠΈ Π»ΡΡΡ Π½Π° ΡΠΎΠ»ΠΊΠ°ΡΠ΅Π»Π΅. ΠΡΠ»ΠΈ Π΅Π³ΠΎ Π½Π΅Ρ, Π² ΡΠ΅Π³ΡΠ»ΡΡΠΎΡ Ρ Π·Π°Π΄Π½Π΅ΠΉ ΡΡΠΎΡΠΎΠ½Ρ Π²Π²Π΅ΡΡΠΈ ΠΏΠ»ΠΎΡΠΊΠΈΠΉ Π½Π°Π΄ΡΠΈΠ»Ρ ΠΈ, Π»Π΅Π³ΠΎΠ½ΡΠΊΠΎ ΡΠ΄Π°ΡΠΈΠ², ΠΏΠΎΠ΄Π°ΡΡ ΠΎΡΠ½ΠΎΠ²Π°Π½ΠΈΠ΅ ΡΠ΅Π³ΡΠ»ΡΡΠΎΡΠ° Π½Π°0,5 ΠΌΠΌ Π²ΠΏΠ΅ΡΠ΅Π΄. Π ΡΠ½ΠΎΠ²Π° ΠΏΡΠΎΠ±Π° Π½ΠΈΡΠΊΠΎΠΉ. Π’Π°ΠΊ Π΄Π΅Π»Π°ΡΡ Π΄ΠΎ ΡΠ΅Ρ ΠΏΠΎΡ, ΠΏΠΎΠΊΠ° ΡΠ΅Π³ΡΠ»ΡΡΠΎΡ Π½Π΅ Π½Π°ΡΠ½Π΅Ρ ΡΠ°Π±ΠΎΡΠ°ΡΡ ΠΏΡΠ°Π²ΠΈΠ»ΡΠ½ΠΎ. Π ΠΏΡΠ°Π²ΠΈΠ»ΡΠ½ΠΎ ΡΠ°Π±ΠΎΡΠ°ΡΡ ΠΎΠ½ Π±ΡΠ΄Π΅Ρ ΡΠΎΠ³Π΄Π°, ΠΊΠΎΠ³Π΄Π° ΡΠΎΠ±Π»ΡΠ΄Π°ΡΡΡΡ ΡΠ»Π΅Π΄ΡΡΡΠΈΠ΅ ΠΏΠ°ΡΠ°ΠΌΠ΅ΡΡΡ:
Π°) Π»ΡΡΡ β ΡΠ²ΠΎΠ±ΠΎΠ΄Π½ΡΠΉ Ρ ΠΎΠ΄ ΡΠΎΠ»ΠΊΠ°ΡΠ΅Π»Ρ Π² ΠΏΡΠ΅Π΄Π΅Π»Π°Ρ 0,5-0,6 ΠΌΠΌ;
Π±) Π·Π°ΠΆΠΈΠΌ Π½ΠΈΡΠΊΠΈ ΠΎΡ Π½ΡΠ»Ρ Π΄ΠΎ ΠΏΡΠ΅Π΄Π΅Π»Π° Π·Π° ΠΎΠ΄ΠΈΠ½ ΠΎΠ±ΠΎΡΠΎΡ Π½Π°ΠΆΠΈΠΌΠ½ΠΎΠΉ Π³Π°ΠΉΠΊΠΈ;
Π²) ΠΏΡΠΈ ΠΏΠΎΠ»Π½ΠΎΠΌ ΠΏΠΎΠ΄ΡΠ΅ΠΌΠ΅ ΡΡΡΠ°Π³Π° Π»Π°ΠΏΠΊΠΈ ΡΠΎΠ»ΠΊΠ°ΡΠ΅Π»Ρ ΠΏΠΎΠ»Π½ΠΎΡΡΡΡ ΠΎΡΠΆΠΈΠΌΠ°Π΅Ρ ΠΊΠΎΠ½ΠΈΡΠ΅ΡΠΊΡΡ ΠΏΡΡΠΆΠΈΠ½Ρ, ΠΈ Π½ΠΈΡΠΊΠ° Π² ΡΠ°ΠΉΠ±Π°Ρ ΠΏΡΠΎΡ ΠΎΠ΄ΠΈΡ ΡΠ²ΠΎΠ±ΠΎΠ΄Π½ΠΎ. Π£Π±Π΅Π΄ΠΈΠ²ΡΠΈΡΡ Π² Π½Π°Π΄Π΅ΠΆΠ½ΠΎΠΌ ΡΠΎΠ±Π»ΡΠ΄Π΅Π½ΠΈΠΈ ΡΡΠΈΡ ΠΏΠ°ΡΠ°ΠΌΠ΅ΡΡΠΎΠ², ΠΎΡΠ²Π΅ΡΡΠΊΠΎΠΉ ΡΠΈΠ»ΡΠ½ΠΎ Π·Π°ΠΆΠ°ΡΡ ΡΡΠΎΠΏΠΎΡΠ½ΡΠΉ Π²ΠΈΠ½Ρ ΡΠ΅Π³ΡΠ»ΡΡΠΎΡΠ°
ΠΠ½ΠΎΠ³ΠΎΠ»Π΅ΡΠ½ΡΡ ΠΏΡΠ°ΠΊΡΠΈΠΊΠ° ΠΏΠΎΠΊΠ°Π·Π°Π»Π°, ΡΡΠΎ ΡΠ°ΠΊΠΎΠΉ ΠΌΠ΅ΡΠΎΠ΄ Π·Π°ΠΊΡΠ΅ΠΏΠ»Π΅Π½ΠΈΡ ΡΠ΅Π³ΡΠ»ΡΡΠΎΡΠ°, ΠΈΠΌΠ΅ΡΡΠ΅Π³ΠΎ ΠΏΠ»Π°ΡΡΠΌΠ°ΡΡΠΎΠ²ΠΎΠ΅ ΠΎΡΠ½ΠΎΠ²Π°Π½ΠΈΠ΅, Π½Π°Π΄Π΅ΠΆΠ½ΡΠΉ ΠΈ Π΄ΠΎΠ»Π³ΠΎΠ²Π΅ΡΠ½ΡΠΉ, ΡΠ°ΠΊ ΠΊΠ°ΠΊ Π²ΠΈΠ½Ρ Π² ΡΠ΅Π·ΡΠ»ΡΡΠ°ΡΠ΅ ΡΡΠ°Π» ΡΠΏΠΈΡΠ°ΡΡΡΡ Π² ΠΌΠ΅ΡΠ°Π»Π»ΠΈΡΠ΅ΡΠΊΡΡ Π»Π΅Π½ΡΡ.
Π‘Π½ΡΡΡ Ρ ΠΎΡΠΈ ΡΠ΅Π³ΡΠ»ΡΡΠΎΡΠ° Π²ΡΠ΅ Π΄Π΅ΡΠ°Π»ΠΈ. ΠΠΎΡΡΠ°Π²ΠΈΡΡ ΠΊΠΎΠΌΠΏΠ΅Π½ΡΠ°ΡΠΈΠΎΠ½Π½ΡΡ ΠΏΡΡΠΆΠΈΠ½Ρ Π² ΠΏΠ°Π·. ΠΠ΅ ΡΠ²ΠΎΠ±ΠΎΠ΄Π½ΡΠΉ ΠΊΠΎΠ½Π΅Ρ Π΄ΠΎΠ»ΠΆΠ΅Π½ Π½Π°Ρ ΠΎΠ΄ΠΈΡΡΡΡ Ρ Π½ΠΈΠΆΠ½Π΅Π³ΠΎ ΠΊΡΠ°Ρ ΠΏΠ»Π°ΡΡΠΌΠ°ΡΡΠΎΠ²ΠΎΠ³ΠΎ Π²ΡΡΠ΅Π·Π° Π΄Π»Ρ ΡΠΈΠΊΡΠ°ΡΠΎΡΠ° ΠΏΠ΅ΡΠ²ΠΎΠΉ ΡΠ°ΠΉΠ±Ρ. ΠΠΎΡΡΠ°Π²ΠΈΡΡ ΠΏΠ΅ΡΠ²ΡΡ Π±ΠΎΠ»ΡΡΡΡ ΡΠ°ΠΉΠ±Ρ. ΠΠ° Π΅Π΅ ΡΠΈΠΊΡΠ°ΡΠΎΡ ΡΠ²Π΅ΡΡ Ρ ΠΏΠΎΠ»ΠΎΠΆΠΈΡΡ ΡΠ²ΠΎΠ±ΠΎΠ΄Π½ΡΠΉ ΠΊΠΎΠ½Π΅Ρ ΠΊΠΎΠΌΠΏΠ΅Π½ΡΠ°ΡΠΈΠΎΠ½Π½ΠΎΠΉ ΠΏΡΡΠΆΠΈΠ½Ρ, ΠΏΠΎΡΡΠ°Π²ΠΈΡΡ Π·Π°ΠΆΠΈΠΌΠ½ΡΡ ΡΠ°ΠΉΠ±Ρ Π²ΡΠΏΡΠΊΠ»ΠΎΠΉ ΡΡΠΎΡΠΎΠ½ΠΎΠΉ Π½Π°ΡΡΠΆΡ, Π²ΡΠΎΡΡΡ Π·Π°ΠΆΠΈΠΌΠ½ΡΡ ΡΠ°ΠΉΠ±Ρ Π²ΡΠΏΡΠΊΠ»ΠΎΠΉ ΡΡΠΎΡΠΎΠ½ΠΎΠΉ Π²Π½ΡΡΡΡ, ΠΎΡΠΆΠΈΠΌΠ½ΡΡ ΡΠ°ΠΉΠ±Ρ (Ρ ΠΏΠ΅ΡΠ΅ΠΌΡΡΠΊΠΎΠΉ Π²Π½ΡΡΡΠΈ ΠΎΡΠ²Π΅ΡΡΡΠΈΡ), Π·Π°ΡΠ΅ΠΌ ΠΊΠΎΠ½ΠΈΡΠ΅ΡΠΊΡΡ ΠΏΡΡΠΆΠΈΠ½Ρ ΠΈ Π³Π°ΠΉΠΊΡ.
ΠΠ°ΠΉΠΊΡ ΠΎΡΡΠ°Π²ΠΈΡΡ Π² ΡΠ°ΠΊΠΎΠΌ ΠΏΠΎΠ»ΠΎΠΆΠ΅Π½ΠΈΠΈ, ΠΊΠΎΠ³Π΄Π° Π·Π°ΠΆΠΈΠΌΠ½ΡΠ΅ ΡΠ°ΠΉΠ±Ρ Π½Π°Ρ ΠΎΠ΄ΡΡΡΡ Π² Π½Π°ΡΠ°Π»Π΅ Π·Π°ΠΆΠΈΠΌΠ°. ΠΠ°Π΄Π΅ΡΡ ΡΠΎΠ½ΠΊΡΡ ΡΠ°ΠΉΠ±ΠΎΡΠΊΡ Π½Π° ΠΊΠΎΠ½Π΅Ρ ΠΎΡΠΈ ΠΈ Π±ΠΎΠ»ΡΡΡΡ ΠΏΠ»Π°ΡΡΠΌΠ°ΡΡΠΎΠ²ΡΡ Π³Π°ΠΉΠΊΡ. Π‘Π²Π΅ΡΡ Ρ Π² ΡΠ³Π»ΡΠ±Π»Π΅Π½ΠΈΠ΅ Π³Π°ΠΉΠΊΠΈ ΠΏΠΎΠ»ΠΎΠΆΠΈΡΡ ΡΠ΅ΡΡΡΠ΅Ρ Π³ΡΠ°Π½Π½ΡΡ Π²ΡΠΏΡΠΊΠ»ΡΡ ΡΠ°ΠΉΠ±Ρ (Π²ΡΠΏΡΠΊΠ»ΠΎΡΡΡΡ Π½Π°Π²Π΅ΡΡ ). ΠΡΡΠ°Π²ΠΈΡΡ Π²ΠΈΠ½Ρ ΠΈ Π·Π°Π²ΠΈΠ½ΡΠΈΡΡ Π΅Π³ΠΎ Π½Π°ΠΊΡΠ΅ΠΏΠΊΠΎ. Π Π΅Π³ΡΠ»ΡΡΠΎΡ Π³ΠΎΡΠΎΠ² ΠΊ ΡΠ°Π±ΠΎΡΠ΅. ΠΠΌΠΏΠ»ΠΈΡΡΠ΄Π° ΡΠ΅Π³ΡΠ»ΠΈΡΠΎΠ²ΠΊΠΈ β ΠΎΠ΄ΠΈΠ½ ΠΎΠ±ΠΎΡΠΎΡ (Π½Π΅ Π±ΠΎΠ»Π΅Π΅!). ΠΡΠΈΠΌΠ΅Π½ΡΡΡ ΡΠΈΠ»Ρ ΠΏΡΠΈ ΡΠ°Π±ΠΎΡΠ΅ Ρ ΡΠ΅Π³ΡΠ»ΡΡΠΎΡΠΎΠΌ, ΠΊΠ°ΠΊ ΠΈ ΡΠΎ Π²ΡΠ΅ΠΌΠΈ ΠΌΠ΅Ρ Π°Π½ΠΈΠ·ΠΌΠ°ΠΌΠΈ ΠΌΠ°ΡΠΈΠ½Ρ, ΠΠΠΠ¬ΠΠ―!
ΠΠ»Ρ ΡΠ΅ΠΌΠΎΠ½ΡΠ° Π±Π»ΠΎΠΊΠ° ΠΊΠΎΠΏΠΈΡΠ½ΡΡ ΡΡΡΠ°Π³ΠΎΠ² Π²ΡΠ½ΡΡΡ ΠΈΠ³Π»Ρ ΠΈΠ· ΠΈΠ³Π»ΠΎΠ΄Π΅ΡΠΆΠ°ΡΠ΅Π»Ρ. ΠΡΠ²Π΅ΡΠ½ΡΡΡ Π΄Π²Π° Π²ΠΈΠ½ΡΠ° ΠΊΡΠ΅ΠΏΠ»Π΅Π½ΠΈΡ Π±Π»ΠΎΠΊΠ° Π·ΠΈΠ³Π·Π°Π³Π° β ΡΠ²Π΅ΡΡ Ρ Π±ΠΎΠ»ΡΡΠΎΠΉ 6 ΠΈ ΡΠ·Π°Π΄ΠΈ ΠΌΠ°Π»ΡΠΉ 16. Π‘Π½ΡΡΡ Π±Π»ΠΎΠΊ (ΡΠΌ. ΡΠΈΡ. 51). ΠΠ° ΡΡΡΠΏΠΈΡΠ΅ ΡΡΡΠΊΠΈ ΡΠΏΡΠ°Π²Π»Π΅Π½ΠΈΡ Π±Π»ΠΎΠΊΠΎΠΌ ΠΊΠΎΠΏΠΈΡΠ½ΡΡ ΡΡΡΠ°Π³ΠΎΠ² 28 (Π»Π΅Π²Π°Ρ Ρ ΡΠΈΡΡΠ°ΠΌΠΈ ΠΎΡ 1 Π΄ΠΎ 5) ΠΎΡΠ²ΠΈΠ½ΡΠΈΡΡ Π²ΠΈΠ½Ρ 30 ΠΈ ΡΠ½ΡΡΡ ΡΡΡΠΊΡ, Π²ΡΠ½ΡΡΡ Π±Π»ΠΎΠΊ ΠΊΠΎΠΏΠΈΡΠ½ΡΡ ΡΡΡΠ°Π³ΠΎΠ² (ΡΠΌ. ΡΠΈΡ 71). ΠΠ° ΠΊΠΎΠ½ΡΠ΅ Π±Π»ΠΎΠΊΠ° Π²ΡΠ½ΡΡΡ Π·Π°ΠΏΠΎΡΠ½ΡΡ ΡΠ°ΠΉΠ±Ρ 1 ΠΈΠ· ΠΏΠ°Π·Π° Π²Π°Π»Π°. Π‘Π½ΡΡΡ Ρ Π²Π°Π»Π° Π²ΡΠ΅ ΡΡΡΠ°Π³ΠΈ 3, Π²ΡΡΠ»ΠΊΠΈ 5 ΠΈ ΡΠ°ΠΉΠ±Ρ 2. Π’ΡΠ΅Ρ Π³ΡΠ°Π½Π½ΡΠΌ Π°Π»ΠΌΠ°Π·Π½ΡΠΌ Π½Π°Π΄ΡΠΈΠ»Π΅ΠΌ ΡΠ½ΡΡΡ Π²ΡΠ΅ Π·Π°ΡΡΠ΅Π½ΡΡ Π½Π° ΠΎΠ±Π΅ΠΈΡ ΡΡΠΎΡΠΎΠ½Π°Ρ ΠΏΠ°Π·Π°. ΠΡΠΎΠ²Π΅ΡΠΈΡΡ ΡΡΠΈ ΠΏΠ»Π°ΡΡΠΌΠ°ΡΡΠΎΠ²ΡΠ΅ ΡΠ°ΡΠΎΠ½Π½ΡΠ΅ Π²ΡΡΠ»ΠΊΠΈ 5. ΠΠΎΠΏΡΡΡΠΈΠΌ, ΡΡΠΎ ΠΏΡΠΈ ΠΏΡΠΎΠ²Π΅ΡΠΊΠ΅ ΠΎΠ±Π½Π°ΡΡΠΆΠ΅Π½ΠΎ ΡΠ»Π΅Π΄ΡΡΡΠ΅Π΅:
β Π²ΡΡΠ»ΠΊΠ° β 1 (Π²ΡΡΠ»ΠΊΠΈ ΠΎΠ±ΠΎΠ·Π½Π°ΡΠ΅Π½Ρ ΡΠΈΡΡΠ°ΠΌΠΈ 1,2,3) β Π²Π½ΡΡΡΠΈ ΠΎΡΠ²Π΅ΡΡΡΠΈΡ ΡΡΠ΅Π·Π°Π½Π° ΡΠΏΠΎΠ½ΠΊΠ°;
β Π²ΡΡΠ»ΠΊΠ° β 2 β ΡΡΠ΅Π·Π°Π½Π° ΡΠΏΠΎΠ½ΠΊΠ°;
β Π²ΡΡΠ»ΠΊΠ° β 3 β ΡΠΏΠΎΠ½ΠΊΠ° ΡΠΎΡ ΡΠ°Π½ΠΈΠ»Π°ΡΡ.
Π’ΠΎ ΠΆΠ΅ ΡΠ°ΠΌΠΎΠ΅ ΠΏΡΠΎΠ΄Π΅Π»Π°ΡΡ Ρ ΡΠ°ΡΠΎΠ½Π½ΠΎΠΉ Π²ΡΡΠ»ΠΊΠΎΠΉ β 2. Π‘ΠΎΠ±ΡΠ°ΡΡ Π±Π»ΠΎΠΊ.
ΠΡΠ΅ ΡΡΡΠ°Π³ΠΈ ΠΎΠ΄ΠΈΠ½Π°ΠΊΠΎΠ²ΠΎΠ³ΠΎ ΡΠ°Π·ΠΌΠ΅ΡΠ° (Π²Π·Π°ΠΈΠΌΠΎΠ·Π°ΠΌΠ΅Π½ΡΠ΅ΠΌΡΠ΅). ΠΠΎΡΡΠ΄ΠΎΠΊ ΡΡΡΠ°Π½ΠΎΠ²ΠΊΠΈ ΡΡΡΠ°Π³ΠΎΠ² 3 ΠΈ Π²ΡΡΠ»ΠΎΠΊ 5 ΡΡΡΠΎΠ³ΠΎ ΠΎΠΏΡΠ΅Π΄Π΅Π»Π΅Π½Π½ΡΠΉ ΠΈ Π½Π°ΡΡΡΠ°ΡΡ Π΅Π³ΠΎ Π½Π΅Π»ΡΠ·Ρ!
ΠΠ° Π²Π°Π» Ρ ΠΎΠΏΠΎΡΠ½ΡΠΌ ΠΊΠΎΠ»ΡΡΠΎΠΌ 6, Π·Π°ΠΊΡΠ΅ΠΏΠ»Π΅Π½Π½ΡΠΌ Π΄Π²ΡΠΌΡ Π²ΠΈΠ½ΡΠ°ΠΌΠΈ, ΠΏΠΎΡΡΠ°Π²ΠΈΡΡ ΡΠ°ΠΊΠΈΠ΅ Π΄Π΅ΡΠ°Π»ΠΈ:
1) ΠΏΠ»Π°ΡΡΠΌΠ°ΡΡΠΎΠ²ΡΡ Π²ΡΡΠ»ΠΊΡ β 1, ΠΏΡΠΈΡΠ΅ΠΌ ΡΠΈΡΡΠ° 1 Π΄ΠΎΠ»ΠΆΠ½Π° ΠΏΠΎΠΏΠ°ΡΡΡ Π½Π° ΠΊΠΎΠ»ΡΡΠΎ 6 Π²Π°Π»Π° 7. ΠΡΠΎΠ΄Π΅Π»Π°Π½Π½ΠΎΠ΅ ΡΠ³Π»ΡΠ±Π»Π΅Π½ΠΈΠ΅, Π²ΠΎ Π²ΡΡΠ»ΠΊΠ΅ Π΄ΠΎΠ»ΠΆΠ½ΠΎ Π½Π°Ρ ΠΎΠ΄ΠΈΡΡΡΡ Π½Π°Π΄ ΡΠΏΠΎΠ½ΠΎΡΠ½ΡΠΌ ΠΏΠ°Π·ΠΎΠΌ Π²Π°Π»Π°. ΠΠ°Π³Π½Π°ΡΡ ΡΠ΄Π΅Π»Π°Π½Π½ΡΡ ΡΠΏΠΎΠ½ΠΊΡ;
2) ΠΏΠΎΠ»ΠΎΠΆΠΈΡΡ ΡΡΡΠ°Π³ Π½Π° ΠΏΠ»Π°ΡΡΠΌΠ°ΡΡΠΎΠ²ΡΡ Π²ΡΡΠ»ΠΊΡ β 1;
3) Π΄Π²Π΅ ΡΠ°ΠΉΠ±Ρ 2 β Π»ΡΠ±ΡΠ΅ (ΠΎΠ½ΠΈ ΠΎΠ΄ΠΈΠ½Π°ΠΊΠΎΠ²ΡΠ΅);
5) ΠΏΠ»Π°ΡΡΠΌΠ°ΡΡΠΎΠ²ΡΡ Π²ΡΡΠ»ΠΊΡ β 2 ΡΠΈΡΡΠΎΠΉ 2 ΠΏΠΎΡΡΠ°Π²ΠΈΡΡ ΠΊ ΡΡΡΠ°Π³Ρ, Ρ. Π΅. Π²Π½ΡΡΡΡ; ΡΠ³Π»ΡΠ±Π»Π΅Π½ΠΈΠ΅ Π²ΠΎ Π²ΡΡΠ»ΠΊΠ΅ Π΄ΠΎΠ»ΠΆΠ½ΠΎ Π±ΡΡΡ ΠΏΡΠΎΡΠΈΠ² ΠΏΠ°Π·Π°. ΠΠ°Π³Π½Π°ΡΡ ΡΠΏΠΎΠ½ΠΊΡ;
9) ΠΏΠ»Π°ΡΡΠΌΠ°ΡΡΠΎΠ²ΡΡ Π²ΡΡΠ»ΠΊΡ β 3 Π½Π°Π΄Π΅ΡΡ ΡΠ°ΠΊ, ΡΡΠΎΠ±Ρ ΡΠΈΡΡΠ° 3 Π±ΡΠ»Π° Π½Π°ΠΏΡΠ°Π²Π»Π΅Π½Π° Π²Π½ΡΡΡΡ ΠΊ ΡΡΡΠ°Π³Ρ, Π° Π΅Π΅ ΡΠΏΠΎΠ½ΠΊΠ° Π²ΠΎΡΠ»Π° Π² ΡΠΏΠΎΠ½ΠΎΡΠ½ΡΠΉ ΠΏΠ°Π· Π²Π°Π»Π°. ΠΡΡΠ»ΠΊΠ° Π΄ΠΎΠ»ΠΆΠ½Π° Π²ΠΎΠΉΡΠΈ Π² ΡΡΡΠ°Π³;
10) ΡΡΡΠ°Π³ 3 Ρ Π΄ΡΡΠ³ΠΎΠΉ ΡΡΠΎΡΠΎΠ½Ρ Π²ΡΡΠ»ΠΊΠΈ β 3;
12) Π²Π²Π΅ΡΡΠΈ Π² ΠΏΠΎΠΏΠ΅ΡΠ΅ΡΠ½ΡΠΉ ΠΏΠ°Π· Π½Π° ΠΊΠΎΠ½ΡΠ΅ Π²Π°Π»Π° ΠΏΡΡΠΆΠΈΠ½Π½ΡΡ Π·Π°ΠΏΠΎΡΠ½ΡΡ ΡΠ°ΠΉΠ±Ρ 1.
ΠΠΎΡΡΠ°Π²ΠΈΡΡ Π±Π»ΠΎΠΊ Π½Π° ΠΌΠ΅ΡΡΠΎ. ΠΠΎΡΡΠ°Π²ΠΈΡΡ ΡΡΡΠΊΡ ΡΠΏΡΠ°Π²Π»Π΅Π½ΠΈΡ Π±Π»ΠΎΠΊΠΎΠΌ ΡΠ°ΠΊ, ΡΡΠΎΠ±Ρ Π»ΡΡΠΊΠ° Π½Π° Π²Π°Π»Ρ Π±ΡΠ»Π° Π½Π°ΠΏΡΠΎΡΠΈΠ² ΠΎΡΠ²Π΅ΡΡΡΠΈΡ ΠΊΡΠ΅ΠΏΠ»Π΅Π½ΠΈΡ ΡΡΠΎΠΏΠΎΡΠ½ΡΠΌ Π²ΠΈΠ½ΡΠΎΠΌ (Ρ Π³ΠΎΠ»ΠΎΠ²ΠΊΠΎΠΉ). ΠΡΠΈΠΆΠ°ΡΡ Π»Π΅Π²ΠΎΠΉ ΡΡΠΊΠΎΠΉ Π±Π»ΠΎΠΊ ΡΡΡΠ°Π³ΠΎΠ² ΠΈ ΡΡΡΠΊΡ ΡΠΏΡΠ°Π²Π»Π΅Π½ΠΈΡ, Π° ΠΏΡΠ°Π²ΠΎΠΉ β Π·Π°Π²Π΅ΡΠ½ΡΡΡ Π²ΠΈΠ½Ρ ΠΊΡΠ΅ΠΏΠ»Π΅Π½ΠΈΡ. ΠΠ°Π» Π±Π»ΠΎΠΊΠ° Π½Π΅ Π΄ΠΎΠ»ΠΆΠ΅Π½ ΠΈΠΌΠ΅ΡΡ ΠΏΡΠΎΠ΄ΠΎΠ»ΡΠ½ΠΎΠ³ΠΎ Π»ΡΡΡΠ°, ΠΈΠ½Π°ΡΠ΅ ΡΡΡΠ°Π³ΠΈ Π±ΡΠ΄ΡΡ Π·Π°Π±Π΅Π³Π°ΡΡ ΡΠΎ ΡΠ²ΠΎΠΈΡ ΠΊΠΎΠΏΠΈΡΠΎΠ² Π½Π° ΡΠΎΡΠ΅Π΄Π½ΠΈΠ΅ ΠΈ Π±Π»ΠΎΠΊ ΡΠ°Π±ΠΎΡΠ°ΡΡ Π½Π΅ Π±ΡΠ΄Π΅Ρ. ΠΡΠ²Π°ΡΡ ΡΠ»ΡΡΠ°ΠΈ, ΠΊΠΎΠ³Π΄Π° Π΄Π΅ΠΊΠΎΡΠ°ΡΠΈΠ²Π½ΡΠ΅ ΡΡΡΠΎΡΠΊΠΈ ΡΠ°Π±ΠΎΡΠ°ΡΡ Ρ ΠΏΠ΅ΡΠ΅Π±ΠΎΡΠΌΠΈ. Π ΠΎΡΠ½ΠΎΠ²Π½ΠΎΠΌ ΡΡΠΎ ΠΏΡΠΎΠΈΡΡ ΠΎΠ΄ΠΈΡ Π½Π° ΠΌΠ°ΡΠΈΠ½Π°Ρ Ρ ΡΠ»Π΅ΠΊΡΡΠΎΠΏΡΠΈΠ²ΠΎΠ΄ΠΎΠΌ. Π ΡΠ΅Π·ΡΠ»ΡΡΠ°ΡΠ΅ Π²ΠΈΠ±ΡΠ°ΡΠΈΠΈ Π²ΠΈΠ½ΡΡ ΠΎΡΠ»Π°Π±Π΅Π²Π°ΡΡ ΠΈ ΡΠ°ΠΌΠΎΡΠ°ΡΠΊΡΡΡΠΈΠ²Π°ΡΡΡΡ. ΠΠ»ΠΎΠΊ ΠΊΠΎΠΏΠΈΡΠ½ΡΡ ΡΡΡΠ°Π³ΠΎΠ² ΡΡΡΠ°Π½Π°Π²Π»ΠΈΠ²Π°Π΅ΡΡΡ ΠΏΡΠΈ ΠΏΠΎΠΌΠΎΡΠΈ ΡΠ°ΡΠΏΠΎΡΠ½ΠΎΠΉ Π²ΡΡΠ»ΠΊΠΈ, ΠΊΠΎΡΠΎΡΠ°Ρ ΡΡΠΎΠΏΠΎΡΠΈΡΡΡ ΡΠ²Π΅ΡΡ Ρ Π²ΠΈΠ½ΡΠΎΠΌ 27 ( ΡΠΌ. ΡΠΈΡ. 51 ). ΠΡΠ»ΠΈ ΠΎΠ½ ΠΎΡΠ»Π°Π±Π»Π΅Π½, ΡΠ°ΡΠΏΠΎΡΠ½Π°Ρ Π²ΡΡΠ»ΠΊΠ° ΡΠ°ΠΌΠΎΠΏΡΠΎΠΈΠ·Π²ΠΎΠ»ΡΠ½ΠΎ ΡΠΌΠ΅ΡΡΠΈΡΡΡ Π² ΡΡΠΎΡΠΎΠ½Ρ ΡΡΡΠΊΠΈ ΡΠΏΡΠ°Π²Π»Π΅Π½ΠΈΡ ΠΈ ΠΊΠΎΠΏΠΈΡΠ½ΡΠ΅ ΡΡΡΠ°Π³ΠΈ ΡΠΎΠ±ΡΡΡΡΡ. Π ΡΡΠ°Π³ Π·ΠΈΠ³Π·Π°Π³Π° ΠΌΠΎΠΆΠ΅Ρ ΠΈ Π½Π΅ ΡΠΌΠ΅ΡΡΠΈΡΡΡΡ, ΡΠ°ΠΊ ΠΊΠ°ΠΊ ΡΠ°Π±ΠΎΡΠ°Π΅Ρ Π½Π° ΡΠΈΡΠΎΠΊΠΎΠΌ ΠΊΠΎΠΏΠΈΡΠ΅.
ΠΠ»Ρ ΡΠΎΠ³ΠΎ, ΡΡΠΎΠ±Ρ ΠΈΡΠΏΡΠ°Π²ΠΈΡΡ ΠΏΠΎΠ»ΠΎΠΆΠ΅Π½ΠΈΠ΅, Π½Π΅ΠΎΠ±Ρ ΠΎΠ΄ΠΈΠΌΠΎ ΡΠ½ΡΡΡ Π±Π»ΠΎΠΊ Π·ΠΈΠ³Π·Π°Π³Π°, Π»Π΅Π²ΡΡ ΡΡΡΠΊΡ 28 ΡΠΏΡΠ°Π²Π»Π΅Π½ΠΈΡ Π΄Π΅ΠΊΠΎΡΠ°ΡΠΈΠ²Π½ΡΠΌΠΈ ΡΡΡΠΎΡΠΊΠ°ΠΌΠΈ, Π²ΡΠ½ΡΡΡ Π±Π»ΠΎΠΊ ΠΊΠΎΠΏΠΈΡΠ½ΡΡ ΡΡΡΠ°Π³ΠΎΠ² (ΡΠΌ. ΡΠΈΡ. 71). Π‘ΠΎ ΡΡΠΎΡΠΎΠ½Ρ ΡΡΡΠΊΠΈ ΠΏΡΠΎΡΠΎΠ»ΠΊΠ½ΡΡΡ Π½Π°Π·Π°Π΄ ΡΠ°ΡΠΏΠΎΡΠ½ΡΡ Π²ΡΡΠ»ΠΊΡ, ΡΠ»Π΅Π³ΠΊΠ° Π·Π°ΠΆΠ°ΡΡ Π΅Π΅ ΡΠ²Π΅ΡΡ Ρ ΡΡΠΎΠΏΠΎΡΠ½ΡΠΌ Π²ΠΈΠ½ΡΠΎΠΌ 27 (ΡΠΌ. ΡΠΈΡ. 51). ΠΠΎΡΡΠ°Π²ΠΈΡΡ Π±Π»ΠΎΠΊ ΠΊΠΎΠΏΠΈΡΠ½ΡΡ ΡΡΡΠ°Π³ΠΎΠ² Π² ΡΠ°ΡΠΏΠΎΡΠ½ΡΡ Π²ΡΡΠ»ΠΊΡ ΠΈ Π²Π½ΠΈΠΌΠ°ΡΠ΅Π»ΡΠ½ΠΎ ΠΏΠΎΡΠΌΠΎΡΡΠ΅ΡΡ, ΠΊΠ°ΠΊ Π»ΠΎΠΆΠ°ΡΡΡ ΠΊΠΎΠΏΠΈΡΠ½ΡΠ΅ ΡΡΡΠ°Π³ΠΈ Π½Π° ΡΠ²ΠΎΠΈ ΠΌΠ΅ΡΡΠ°. ΠΡ ΠΏΠΎΠ»ΠΎΠΆΠ΅Π½ΠΈΠ΅ Π½Π΅ΠΎΠ±Ρ ΠΎΠ΄ΠΈΠΌΠΎ ΡΠ΅Π³ΡΠ»ΠΈΡΠΎΠ²Π°ΡΡ ΠΏΡΠΎΠ΄Π²ΠΈΠΆΠ΅Π½ΠΈΠ΅ΠΌ Π²ΡΠ΅Π³ΠΎ Π±Π»ΠΎΠΊΠ° Π²Π»Π΅Π²ΠΎ, Π² ΡΡΠΎΡΠΎΠ½Ρ ΡΡΡΠΊΠΈ ΡΠΏΡΠ°Π²Π»Π΅Π½ΠΈΡ. ΠΠ΅Π³ΠΎΠ½ΡΠΊΠΎ ΠΏΠΎΡΡΡΠΊΠΈΠ²Π°Ρ ΠΌΠΎΠ»ΠΎΡΠΎΡΠΊΠΎΠΌ ΠΎ ΡΠΎΡΠ΅Ρ Π±Π»ΠΎΠΊΠ° ΠΊΠΎΠΏΠΈΡΠ½ΡΡ ΡΡΡΠ°Π³ΠΎΠ² Ρ ΠΏΡΠ°Π²ΠΎΠΉ ΡΡΠΎΡΠΎΠ½Ρ, ΠΏΡΠΎΠ΄Π²ΠΈΠ½ΡΡΡ Π²Π΅ΡΡ Π±Π»ΠΎΠΊ ΠΈ ΡΠ°ΡΠΏΠΎΡΠ½ΡΡ Π²ΡΡΠ»ΠΊΡ. Π’Π°ΠΊΠ°Ρ ΡΠ°Π±ΠΎΡΠ° ΡΡΠ΅Π±ΡΠ΅Ρ ΠΎΡΡΠΎΡΠΎΠΆΠ½ΠΎΡΡΠΈ ΠΈ Π²Π½ΠΈΠΌΠ°Π½ΠΈΡ!
ΠΠ΅ΠΎΠ±Ρ ΠΎΠ΄ΠΈΠΌΠΎ Π΄ΠΎΠ±ΠΈΡΡΡΡ, ΡΡΠΎΠ±Ρ ΠΊΠ°ΠΆΠ΄ΡΠΉ ΡΡΡΠ°Π³ ΠΊΠ°ΡΠ°Π»ΡΡ ΡΠΎΠ»ΡΠΊΠΎ ΡΠ²ΠΎΠ΅Π³ΠΎ ΠΊΠΎΠΏΠΈΡΠ°. ΠΠ»Π°ΡΡΠΌΠ°ΡΡΠΎΠ²ΡΠ΅ ΠΊΠΎΠΏΠΈΡΡ Π½Π°Π΄ΠΎ ΠΏΡΠΎΠ²ΠΎΡΠ°ΡΠΈΠ²Π°ΡΡ Π²ΠΊΡΡΠ³ΠΎΠ²ΡΡ. ΠΡΠΈ ΠΏΡΠΎΠ²ΠΎΡΠ°ΡΠΈΠ²Π°Π½ΠΈΠΈ ΠΎΠ½ΠΈ ΠΌΠΎΠ³ΡΡ ΠΊΠΎΠ»Π΅Π±Π°ΡΡΡΡ Π²ΠΏΡΠ°Π²ΠΎ-Π²Π»Π΅Π²ΠΎ. Π ΡΠ°ΠΊΠΎΠΌ ΡΠ»ΡΡΠ°Π΅ Π²ΠΎΠ·Π½ΠΈΠΊΠ°Π΅Ρ ΡΡΡΠ΄Π½ΠΎΡΡΡ ΠΏΠΎ ΡΡΡΠ°Π½ΠΎΠ²ΠΊΠ΅ ΠΊΠΎΠΏΠΈΡΠ½ΡΡ ΡΡΡΠ°Π³ΠΎΠ² Π² ΡΡΡΠΎΠ³ΠΎ ΠΎΠΏΡΠ΅Π΄Π΅Π»Π΅Π½Π½ΠΎΠΌ ΠΏΠΎΠ»ΠΎΠΆΠ΅Π½ΠΈΠΈ. ΠΠΎΡΠ»Π΅ ΠΏΡΠ°Π²ΠΈΠ»ΡΠ½ΠΎΠΉ ΡΡΡΠ°Π½ΠΎΠ²ΠΊΠΈ ΡΡΡΠ°Π³ΠΎΠ² Π·Π°ΠΆΠ°ΡΡ ΡΡΠΎΠΏΠΎΡΠ½ΡΠΉ Π²ΠΈΠ½Ρ 27 Π²ΡΡΠ»ΠΊΠΈ ΡΠ°ΠΌΠΎΠΉ ΠΌΠ°Π»ΠΎΠΉ ΠΎΡΠ²Π΅ΡΡΠΊΠΎΠΉ. ΠΠΎΡΠ»Π΅ ΡΡΠΎΠ³ΠΎ Π½Π°Π΄Π΅ΡΡ ΡΡΡΠΊΡ ΡΠΏΡΠ°Π²Π»Π΅Π½ΠΈΡ 28 Π½Π° Π²Π°Π», ΡΠΎΠ²ΠΌΠ΅ΡΡΠΈΠ² Π»ΡΡΠΊΡ Π½Π° Π²Π°Π»Ρ Ρ ΠΎΡΠ²Π΅ΡΡΡΠΈΠ΅ΠΌ ΡΡΠΎΠΏΠΎΡΠ½ΠΎΠ³ΠΎ Π²ΠΈΠ½ΡΠ°. ΠΠ΅Π²ΠΎΠΉ ΡΡΠΊΠΎΠΉ ΠΏΡΠΈΠΆΠ°ΡΡ Π±Π»ΠΎΠΊ ΡΡΡΠ°Π³ΠΎΠ² ΠΈ ΡΡΡΠΊΡ ΡΠΏΡΠ°Π²Π»Π΅Π½ΠΈΡ, Π° ΠΏΡΠ°Π²ΠΎΠΉ Π·Π°Π²Π΅ΡΠ½ΡΡΡ ΡΡΠΎΠΏΠΎΡΠ½ΡΠΉ Π²ΠΈΠ½Ρ ΡΡΡΠΊΠΈ. Π ΡΡΠΊΠ° ΡΠΏΡΠ°Π²Π»Π΅Π½ΠΈΡ ΠΏΡΠΈΠΆΠ°ΡΠ° ΡΡΠΎΠΏΠΎΡΠ½ΠΎΠΉ Π·Π°ΡΠ΅Π»ΠΊΠΎΠΉ, ΠΈ ΠΏΠΎΡΡΠΎΠΌΡ, ΠΏΠΎΠ²ΠΎΡΠ°ΡΠΈΠ²Π°Ρ Π΅Π΅ ΠΏΠΎ Ρ ΠΎΠ΄Ρ ΡΠ°ΡΠΎΠ²ΠΎΠΉ ΡΡΡΠ΅Π»ΠΊΠΈ ΠΏΡΠΈ ΠΏΠ΅ΡΠ΅ΠΊΠ»ΡΡΠ΅Π½ΠΈΠΈ Ρ ΠΎΠ΄Π½ΠΎΠΉ ΠΏΠΎΠ·ΠΈΡΠΈΠΈ Π½Π° Π΄ΡΡΠ³ΡΡ, Π½Π΅ Π½Π°Π΄ΠΎ Π½Π°ΠΆΠΈΠΌΠ°ΡΡ ΡΠ°ΠΊ, ΠΊΠ°ΠΊ ΡΡΠΎ Π΄Π΅Π»Π°Π΅ΡΡΡ Π½Π° ΠΌΠ°ΡΠΈΠ½Π΅ Β«ΠΠΎΠ΄ΠΎΠ»ΡΡΠΊΒ»-142 ΠΊΠ». ΠΠ΅ΡΠ²ΡΠΌ ΡΡΡΠ°Π½Π°Π²Π»ΠΈΠ²Π°Π΅ΡΡΡ Π·Π°Π·ΠΎΡ Π² Π·ΡΠ±ΡΠ°ΡΠΎΠΌ Π·Π°ΡΠ΅ΠΏΠ»Π΅Π½ΠΈΠΈ Π² Π±Π»ΠΎΠΊΠ΅ Π·ΠΈΠ³Π·Π°Π³Π°.
ΠΡΠΈ ΡΡΡΠ°Π½ΠΎΠ²ΠΊΠ΅ Π·Π°Π·ΠΎΡΠΎΠ² Π² ΡΠ΅Π»Π½ΠΎΡΠ½ΠΎΠΌ ΡΡΡΡΠΎΠΉΡΡΠ²Π΅ ΠΏΡΠΈΡ ΠΎΠ΄ΠΈΡΡΡ ΡΠΌΠ΅ΡΠ°ΡΡ Π²Π»Π΅Π²ΠΎ ΠΊΠΎΡΠΏΡΡ 3 (ΡΠΌ. ΡΠΈΡ. 9) Ρ ΠΎΠ΄Π° ΡΠ΅Π»Π½ΠΎΠΊΠ° ΠΈ Π²Π°Π» ΡΠ΅Π»Π½ΠΎΠΊΠ° Ρ ΡΠ΅ΠΊΡΠΎΡΠ½ΠΎΠΉ ΠΊΠΎΠ½ΠΈΡΠ΅ΡΠΊΠΎΠΉ ΡΠ΅ΡΡΠ΅ΡΠ½Π΅ΠΉ 8. ΠΠ°Π»Π°Ρ Π²Π΅Π΄ΠΎΠΌΠ°Ρ ΠΊΠΎΠ½ΠΈΡΠ΅ΡΠΊΠ°Ρ ΡΠ΅ΡΡΠ΅ΡΠ½Ρ ΡΠ°Π·ΠΌΠ΅ΡΠ΅Π½Π° Π½Π° Π²Π°Π»Ρ 1 ΡΠΎΠ»ΠΊΠ°ΡΠ΅Π»Ρ ΡΠ΅Π»Π½ΠΎΠΊΠ° ΠΈ Π·Π°ΠΊΡΠ΅ΠΏΠ»Π΅Π½Π° Π΄Π²ΡΠΌΡ Π²ΠΈΠ½ΡΠ°ΠΌΠΈ: Π²Π΅ΡΡ Π½ΠΈΠΌ 21 ΠΈ Π½ΠΈΠΆΠ½ΠΈΠΌ (ΠΊΠΎΠ³Π΄Π° ΠΌΠ°ΡΠΈΠ½Π° ΠΎΡΠΊΠΈΠ½ΡΡΠ° Π½Π° Π·Π°Π΄Π½ΡΡ ΡΡΠΎΡΠΎΠ½Ρ) (ΡΠΌ. ΡΠΈΡ. 10, Π±). ΠΡΠ»ΠΈ ΡΡΠΈ ΡΠ΅ΡΡΠ΅ΡΠ½ΠΈ Π²ΡΡΠ»ΠΈ ΠΈΠ· Π·Π°ΡΠ΅ΠΏΠ»Π΅Π½ΠΈΡ, ΠΈΡΠΏΡΠ°Π²ΠΈΡΡ ΠΏΠΎΠ»ΠΎΠΆΠ΅Π½ΠΈΠ΅. ΠΡΠΈ ΡΡΠΎΠΌ Π½Π΅ΠΎΠ±Ρ ΠΎΠ΄ΠΈΠΌΠΎ Π·Π½Π°ΡΡ, ΡΡΠΎ ΠΏΠ΅ΡΠ²ΡΠΉ Π²Π΅ΡΡ Π½ΠΈΠΉ Π·ΡΠ± ΡΠ΅ΠΊΡΠΎΡΠ½ΠΎΠΉ ΡΠ΅ΡΡΠ΅ΡΠ½ΠΈ Π΄ΠΎΠ»ΠΆΠ΅Π½ Π²ΠΎΠΉΡΠΈ Π²ΠΎ Π²ΠΏΠ°Π΄ΠΈΠ½Ρ Π²Π΅Π΄ΠΎΠΌΠΎΠΉ ΡΠ΅ΡΡΠ΅ΡΠ½ΠΈ Π·Π° Π²ΡΠΎΡΠ²ΠΌ Π·ΡΠ±ΠΎΠΌ 3, ΡΡΠΈΡΠ°Ρ Π·ΡΠ± 2 ΠΏΠ΅ΡΠ΅Π΄ Π²Π΅ΡΡ Π½ΠΈΠΌ Π²ΠΈΠ½ΡΠΎΠΌ ΠΏΠ΅ΡΠ²ΡΠΌ!
ΠΡΠ»Π°ΡΠΎΠΊ ΠΏΠΎΠ΄ΡΠ΅ΠΌΠ° Π·ΡΠ±ΡΠ°ΡΠΎΠΉ ΡΠ΅ΠΉΠΊΠΈ ΡΡΡΠ°Π½Π°Π²Π»ΠΈΠ²Π°ΡΡ ΠΏΠΎΡΠ»Π΅ ΡΡΡΠ°Π½ΠΎΠ²ΠΊΠΈ Π²ΡΠ΅Ρ Π·Π°Π·ΠΎΡΠΎΠ² Π² ΡΠ΅Π»Π½ΠΎΡΠ½ΠΎΠΌ ΡΡΡΡΠΎΠΉΡΡΠ²Π΅. Π§ΡΠΎΠ±Ρ ΡΡΡΠ°Π½ΠΎΠ²ΠΈΡΡ ΠΏΡΠ°Π²ΠΈΠ»ΡΠ½ΠΎ ΠΊΡΠ»Π°ΡΠΎΠΊ 2 (ΡΠΈΡ. 76) ΠΏΠΎΠ΄ΡΠ΅ΠΌΠ° Π·ΡΠ±ΡΠ΅Π², Π½Π°Π΄ΠΎ ΠΎΠΏΡΡΡΠΈΡΡ ΠΈΠ³Π»Ρ Π² ΠΊΡΠ°ΠΉΠ½Π΅Π΅ Π½ΠΈΠΆΠ½Π΅Π΅ ΠΏΠΎΠ»ΠΎΠΆΠ΅Π½ΠΈΠ΅, ΠΏΠΎΠ²Π΅ΡΠ½ΡΡΡ ΠΊΡΠ»Π°ΡΠΎΠΊ 2 ΡΠ°ΠΊ, ΡΡΠΎΠ±Ρ Π²Π΅ΡΡ Π½ΠΈΠΉ Π²ΠΈΠ½Ρ 3 Π±ΡΠ» ΡΠ°ΡΠΏΠΎΠ»ΠΎΠΆΠ΅Π½ ΠΏΡΠΎΡΠΈΠ² ΠΊΡΠ°Ρ ΠΏΡΠΈΠ»ΠΈΠ²Π° 5 Π½Π° ΠΏΠ»Π°ΡΡΠΎΡΠΌΠ΅ ΠΈ Π΅Π³ΠΎ ΡΠ΄ΠΎΠ±Π½ΠΎ Π±ΡΠ»ΠΎ Π·Π°Π²Π΅ΡΠ½ΡΡΡ ΠΎΡΠ²Π΅ΡΡΠΊΠΎΠΉ 4. ΠΠ΅ΡΠ΅Π΄ Π·Π°ΠΆΠΈΠΌΠΎΠΌ ΠΊΡΠ»Π°ΡΠΎΠΊ ΡΠΌΠ΅ΡΡΠΈΡΡ Π²ΠΏΡΠ°Π²ΠΎ ΠΏΠΎ Π²Π°Π»Ρ ΠΎΡ Π²ΡΡΠ»ΠΊΠΈ Π½Π° 1 ΠΌΠΌ.
Π ΠΈΡ. 76. Π£ΡΡΠ°Π½ΠΎΠ²ΠΊΠ° ΠΊΡΠ»Π°ΡΠΊΠ° ΠΏΠΎΠ΄ΡΠ΅ΠΌΠ° Π·ΡΠ±ΡΠ°ΡΠΎΠΉ ΡΠ΅ΠΉΠΊΠΈ:
Π° β Π² ΠΌΠ°ΡΠΈΠ½Π΅ Β«ΠΠΎΠ΄ΠΎΠ»ΡΡΠΊΒ»-142 ΠΊΠ». (ΠΈΠ³Π»Π° Π²Π½ΠΈΠ·Ρ); Π± β Π² ΠΌΠ°ΡΠΈΠ½Π΅ Β«Π§Π°ΠΉΠΊΠ°Β»-Π¨ ΠΊΠ». (ΠΈΠ³Π»Π° Π²Π²Π΅ΡΡ
Ρ);
Π‘ΠΈΠ»ΡΠ½ΠΎΠ΅ ΠΎΡΠ»Π°Π±Π»Π΅Π½ΠΈΠ΅ Π½ΠΈΠΆΠ½Π΅ΠΉ Π½ΠΈΡΠΊΠΈ Π² ΡΡΡΠΎΡΠΊΠ΅ β ΡΠ΅ΡΡΠ΅Π·Π½Π°Ρ Π½Π΅ΠΈΡΠΏΡΠ°Π²Π½ΠΎΡΡΡ. ΠΡΠΎ ΠΏΡΠΎΠΈΡΡ ΠΎΠ΄ΠΈΡ ΠΈΠ·-Π·Π° ΡΠΎΠ³ΠΎ, ΡΡΠΎ Ρ ΡΠ΅Π»Π½ΠΎΠΊΠ° Π½Π΅Π΄ΠΎΡΡΠ°ΡΠΎΡΠ½ΠΎ Π½Π°ΠΊΠ»ΠΎΠ½Π΅Π½Π° Π»ΠΈΡΠ΅Π²Π°Ρ ΠΊΡΠΎΠΌΠΊΠ°. Π’Π΅ΠΎΡΠ΅ΡΠΈΡΠ΅ΡΠΊΠΈ, Π΄Π° ΠΈ ΠΊΠΎΠ½ΡΡΡΡΠΊΡΠΈΠ²Π½ΠΎ, Π½ΠΈΠΆΠ½ΡΡ Π½ΠΈΡΠΊΡ Π½Π° ΠΊΠ°ΠΆΠ΄ΡΠΉ ΡΡΠ΅ΠΆΠΎΠΊ ΠΈΠ·Π²Π»Π΅ΠΊΠ°Π΅Ρ ΡΠ΅Π»Π½ΠΎΠΊ Π½Π°ΠΊΠ»ΠΎΠ½Π½ΠΎΠΉ Π»ΠΈΡΠ΅Π²ΠΎΠΉ ΠΊΡΠΎΠΌΠΊΠΎΠΉ. ΠΠ΄Π½Π°ΠΊΠΎ Π·Π°ΠΌΠ΅Π½Π° ΡΠ΅Π»Π½ΠΎΠΊΠ°, ΠΈ Π΄Π°ΠΆΠ΅ ΠΏΠΎΠ΄Π±ΠΎΡ Π½Π΅ΡΠΊΠΎΠ»ΡΠΊΠΈΡ ΡΠ΅Π»Π½ΠΎΠΊΠΎΠ², Π½Π΅ ΡΠ΅ΡΠ°Π΅Ρ ΠΏΡΠΎΠ±Π»Π΅ΠΌΡ. Π ΠΈΠ½ΠΎΠ³Π΄Π° ΠΈ ΠΏΡΠΈΠΆΠΈΠΌ Π½ΠΈΠΆΠ½Π΅ΠΉ Π½ΠΈΡΠΊΠΈ Π² ΡΠΏΡΠ»ΡΠ½ΠΎΠΌ ΠΊΠΎΠ»ΠΏΠ°ΡΠΊΠ΅ Π½Π΅ ΡΠ΅ΡΠ°Π΅Ρ Π²ΠΎΠΏΡΠΎΡΠ°, Π° Π΅ΡΠ»ΠΈ ΠΈ ΡΠ΅ΡΠ°Π΅Ρ ΡΠΎ ΠΏΠΎΠ»ΠΎΠ²ΠΈΠ½ΡΠ°ΡΠΎ: ΠΏΡΡΠΌΠ°Ρ ΡΡΡΠΎΡΠΊΠ° ΠΏΠΎΠ»ΡΡΠ°Π΅ΡΡΡ Ρ ΠΎΡΠΎΡΠ΅ΠΉ, Π° Π·ΠΈΠ³Π·Π°Π³ΠΎΠΎΠ±ΡΠ°Π·Π½Π°Ρ β Π½Π΅Ρ (ΡΡΡΠ³ΠΈΠ²Π°Π½ΠΈΠ΅ Π² ΠΏΠΎΠΏΠ΅ΡΠ΅ΡΠ½ΠΎΠΌ Π½Π°ΠΏΡΠ°Π²Π»Π΅Π½ΠΈΠΈ).
ΠΠΎΠΏΠΎΠ»Π½ΠΈΡΠ΅Π»ΡΠ½ΡΠ΅ ΠΌΠ΅ΡΡ ΠΌΠΎΠ³ΡΡ Π±ΡΡΡ ΡΠ°Π·Π½ΠΎΠΎΠ±ΡΠ°Π·Π½ΡΠΌΠΈ. ΠΠ½ΠΎΠ³Π΄Π° Π½Π°Π΄ΠΎ Π½Π° ΡΠΏΡΠ»ΡΠΊΡ ΡΡΠ°Π²ΠΈΡΡ Π½ΠΈΡΠΊΡ Π½ΠΎΠΌΠ΅ΡΠΎΠΌ Π±ΠΎΠ»ΡΡΠ΅ (ΡΠΎΠ½ΡΡΠ΅). ΠΠ½ΠΎΠ³Π΄Π° ΡΠ΅ΡΠ°Π΅Ρ ΠΏΡΠΎΠ±Π»Π΅ΠΌΡ Π·Π°ΠΌΠ΅Π½Π° ΡΠΏΡΠ»ΡΠ½ΠΎΠ³ΠΎ ΠΊΠΎΠ»ΠΏΠ°ΡΠΊΠ° ΠΈΠΌΠΏΠΎΡΡΠ½ΡΠΌ β Π½Π°ΠΏΡΠΈΠΌΠ΅Ρ, ΠΎΡ ΠΌΠ°ΡΠΈΠ½Ρ Β«ΠΠ΅ΡΠΈΡΠ°ΡΒ», Β«ΠΡΡΠ½ΠΈΠΊΒ», Β«ΠΠΈΠ½Π³Π΅ΡΒ» ΡΠ΅Π½ΡΡΠ°Π»ΡΠ½ΠΎ-ΡΠΏΡΠ»Π΅ΡΠ½ΡΠΉ (ΡΠΌ. ΡΠ°ΡΡΡ 1, Β«Π ΡΡΡΠΎΡΠΊΠ΅ ΡΠ½ΠΈΠ·Ρ ΠΎΡΠ»Π°Π±Π»Π΅Π½Π° Π½ΠΈΠΆΠ½ΡΡ Π½ΠΈΡΠΊΠ°Β», ΠΏ. 13).
Π’Π°ΠΊ ΠΈΠ»ΠΈ ΠΈΠ½Π°ΡΠ΅ ΠΏΡΠΎΠ±Π»Π΅ΠΌΡ ΡΠ΅ΡΠ°ΡΡ Π½Π°Π΄ΠΎ ΠΏΡΡΠ΅ΠΌ Π²ΠΎΠ·ΠΌΠΎΠΆΠ½ΠΎ Π±ΠΎΠ»ΡΡΠΈΡ Π²Π°ΡΠΈΠ°Π½ΡΠΎΠ² ΠΏΠΎΠ΄Π±ΠΎΡΠ° ΠΈ Π·Π°ΠΌΠ΅Π½Ρ ΠΊΠ°ΠΊ ΡΠ΅Π»Π½ΠΎΠΊΠ°, ΡΠ°ΠΊ ΠΈ ΡΠΏΡΠ»ΡΠ½ΠΎΠ³ΠΎ ΠΊΠΎΠ»ΠΏΠ°ΡΠΊΠ°. Π Π΄Π°Π½Π½ΠΎΠΉ ΡΠΈΡΡΠ°ΡΠΈΠΈ Π½Π΅ ΠΏΠΎΡΠ»Π΅Π΄Π½ΡΡ ΡΠΎΠ»Ρ ΠΈΠ³ΡΠ°Π΅Ρ ΡΠ°Π·Π½ΠΎΠΎΠ±ΡΠ°Π·Π½ΡΠΉ ΠΈ ΡΡΠ°ΡΠ΅Π»ΡΠ½ΡΠΉ ΠΏΠΎΠ΄Π±ΠΎΡ ΠΈΠ³Π»Ρ, Π½ΠΈΡΠΎΠΊ; Π° Π΄Π»ΠΈΠ½Π° ΡΡΠ΅ΠΆΠΊΠ° Π΄ΠΎΠ»ΠΆΠ½Π° Π±ΡΡΡ ΠΊΠ°ΠΊ ΠΌΠΎΠΆΠ½ΠΎ ΠΌΠ΅Π½ΡΡΠ΅, Π½Π°ΡΡΠΆΠ΅Π½ΠΈΠ΅ Π²Π΅ΡΡ Π½Π΅ΠΉ Π½ΠΈΡΠΊΠΈ β Π½ΠΎΡΠΌΠ°Π»ΡΠ½ΠΎΠ΅. Π‘ΠΈΠ»ΡΠ½ΠΎΠ΅ Π½Π°ΡΡΠΆΠ΅Π½ΠΈΠ΅ Π²Π΅ΡΡ Π½Π΅ΠΉ ΠΈ Π½ΠΈΠΆΠ½Π΅ΠΉ Π½ΠΈΡΠΎΠΊ ΡΡΠ»ΠΎΠΆΠ½ΡΠ΅Ρ ΡΠΈΡΡΠ°ΡΠΈΡ.
ΠΡΡΡΠ΅ΡΠ°ΡΡΡΡ ΠΈ ΡΠ°ΠΊΠΈΠ΅ Π½Π΅ΠΈΡΠΏΡΠ°Π²Π½ΠΎΡΡΠΈ: ΡΠΊΠ°Π½Ρ Π½Π΅ ΠΏΡΠΎΠ΄Π²ΠΈΠ³Π°Π΅ΡΡΡ, Π·ΡΠ±ΡΠ°ΡΠ°Ρ ΡΠ΅ΠΉΠΊΠ° Π·Π°Π²ΠΈΡΠ»Π° Π½Π° ΠΎΠ΄Π½ΠΎΠΌ ΡΡΠΎΠ²Π½Π΅. ΠΡΡ ΡΡΡΠ°Π³Π° ΠΏΠΎΠ΄ΡΠ΅ΠΌΠ° Π·ΡΠ±ΡΠ΅Π² Π·Π°ΡΠΆΠ°Π²Π΅Π»Π°. Π ΡΠ°ΠΊΠΎΠΌ ΡΠ»ΡΡΠ°Π΅ Π½Π°Π΄ΠΎ ΡΠΌΠΎΡΠΈΡΡ ΠΎΡΡ ΡΠΌΠ΅ΡΡΡ, ΡΠΎΡΡΠΎΡΡΠ΅ΠΉ ΠΈΠ· ΠΌΠ°ΡΠ»Π° ΠΈ ΡΠ°ΡΡΠ²ΠΎΡΠΈΡΠ΅Π»Ρ β 647, ΠΈ ΡΠ°Π·ΡΠ°Π±ΠΎΡΠ°ΡΡ ΠΎΡΡ Π²ΡΡΡΠ½ΡΡ. ΠΠΎΠΆΠ½ΠΎ ΡΠ°Π·ΠΎΠ±ΡΠ°ΡΡ ΡΠ·Π΅Π», ΠΏΠΎΡΠΈΡΡΠΈΡΡ, Π·Π°ΡΠ΅ΠΌ ΡΠΎΠ±ΡΠ°ΡΡ Π΅Π³ΠΎ.
Π ΠΈΡ. 77. ΠΠ°ΡΠΈΠ°Π½ΡΡ Π½Π΅ΡΠΎΠ²ΠΏΠ°Π΄Π΅Π½ΠΈΡ ΡΠ΅Π»ΠΈ ΠΈΠ³ΠΎΠ»ΡΠ½ΠΎΠΉ ΠΏΠ»Π°ΡΡΠΈΠ½Ρ ΠΈ ΡΠ΅Π»ΠΈ ΠΏΡΠΈΠΆΠΈΠΌΠ½ΠΎΠΉ Π»Π°ΠΏΠΊΠΈ (Π»Π°ΠΏΠΊΠ° Π±ΡΠ°ΠΊ)
ΠΌΠ°ΡΠΈΠ½Π° Β«Π§Π°ΠΉΠΊΠ°Β»-142Π ΠΊΠ».:
| 1 β ΡΠ΅Π»Ρ Π΄Π»Ρ ΠΏΡΠΎΡ ΠΎΠ΄Π° ΠΈΠ³Π»Ρ Π² ΠΏΡΠΈΠΆΠΈΠΌΠ½ΠΎΠΉ Π»Π°ΠΏΠΊΠ΅; | 3 β ΡΠ΅Π»Ρ Π΄Π»Ρ ΠΏΡΠΎΡ ΠΎΠ΄Π° ΠΈΠ³Π»Ρ Π² ΠΈΠ³ΠΎΠ»ΡΠ½ΠΎΠΉ ΠΏΠ»Π°ΡΡΠΈΠ½Π΅; |
| 2 βΡΠ°Π±ΠΎΡΠ°Ρ Π·ΠΎΠ½Π° Π΄Π»Ρ ΠΏΡΠΎΡ ΠΎΠ΄Π° ΠΈΠ³Π»Ρ; | 4 β ΠΏΠ΅ΡΠ΅Π΄Π½ΡΡ ΡΡΠΎΡΠΎΠ½Π° ΠΈΠ³ΠΎΠ»ΡΠ½ΠΎΠΉ ΠΏΠ»Π°ΡΡΠΈΠ½Ρ |
ΠΠ½ΠΎΠ³Π΄Π° Π±ΡΠ²Π°Π΅Ρ, ΡΡΠΎ ΠΏΡΠΈΠΆΠΈΠΌΠ½Π°Ρ Π»Π°ΠΏΠΊΠ° 1 ΡΠΌΠ΅ΡΠ΅Π½Π° ΠΊ Π·Π°Π΄Π½Π΅ΠΉ ΡΡΠΎΡΠΎΠ½Π΅ (ΡΠΈΡ. 77). Π’ΠΎΠ³Π΄Π° ΡΠ°Π±ΠΎΡΠ°Ρ Π·ΠΎΠ½Π° 2 Π΄Π»Ρ ΠΏΡΠΎΡ ΠΎΠ΄Π° ΠΈΠ³Π»Ρ ΡΡΠΆΠ΅Π½Π°, ΠΈ ΡΠ°Π±ΠΎΡΠ° ΡΠ²Π΅ΠΉΠ½ΠΎΠΉ ΠΌΠ°ΡΠΈΠ½Ρ ΠΎΡΠ»ΠΎΠΆΠ½Π΅Π½Π°. Π Π΅ΡΠΈΡΡ ΠΏΡΠΎΠ±Π»Π΅ΠΌΡ ΠΌΠΎΠΆΠ½ΠΎ Π΄Π²ΡΠΌΡ ΡΠΏΠΎΡΠΎΠ±Π°ΠΌΠΈ:
Π°) ΠΏΠ΅ΡΠ΅Π΄Π½ΡΡ ΡΡΠΎΡΠΎΠ½Ρ 4 ΡΠ΅Π»ΠΈ Π»Π°ΠΏΠΊΠΈ ΡΠ°ΡΠΏΠΈΠ»ΠΈΡΡ Π΄ΠΎ ΠΏΠ΅ΡΠ΅Π΄Π½Π΅ΠΉ ΠΊΡΠΎΠΌΠΊΠΈ ΡΠ΅Π»ΠΈ ΠΈΠ³ΠΎΠ»ΡΠ½ΠΎΠΉ ΠΏΠ»Π°ΡΡΠΈΠ½Ρ;
Π±)Π·Π°ΠΌΠ΅Π½ΠΈΡΡ Π»Π°ΠΏΠΊΡ. Π§Π°ΡΡΠΎ Π·Π°ΠΊΠ»ΠΈΠ½ΠΈΠ²Π°Π½ΠΈΠ΅ Ρ ΠΎΠ΄Π° ΠΌΠ°ΡΠΈΠ½Ρ ΠΏΡΠΎΠΈΡΡ ΠΎΠ΄ΠΈΡ ΠΏΠΎ ΠΏΡΠΈΡΠΈΠ½Π΅ Π²ΡΡ ΠΎΠ΄Π° ΠΎΡΠΈ ΡΠ°ΡΠ½ΠΈΡΠ° Π½ΠΈΡΠ΅ΠΏΡΠΈΡΡΠ³ΠΈΠ²Π°ΡΠ΅Π»Ρ. ΠΡ Π²ΠΈΠ±ΡΠ°ΡΠΈΠΈ (ΠΎΡΠΎΠ±Π΅Π½Π½ΠΎ Π½Π° ΠΌΠ°ΡΠΈΠ½Π°Ρ Ρ ΡΠ»Π΅ΠΊΡΡΠΎΠΏΡΠΈΠ²ΠΎΠ΄ΠΎΠΌ) ΡΡΠΎΠΏΠΎΡΠ½ΡΠΉ Π²ΠΈΠ½Ρ ΠΎΡΠ»Π°Π±Π»ΡΠ΅ΡΡΡ, ΠΎΡΡ Π²ΡΡ ΠΎΠ΄ΠΈΡ ΠΈΠ· ΡΠ°ΡΠ½ΠΈΡΠ° Π½Π° 4-5 ΠΌΠΌ Π² Π»Π΅Π²ΡΡ ΡΡΠΎΡΠΎΠ½Ρ ΠΈ Π·Π°Π΄Π΅Π²Π°Π΅Ρ Π·Π° ΠΈΠ³Π»ΠΎΠ²ΠΎΠ΄ΠΈΡΠ΅Π»Ρ. ΠΠ΅ ΡΠ°Π·Π±ΠΈΡΠ°Ρ ΡΠ·Π΅Π», ΠΌΠΎΠΆΠ½ΠΎ ΠΏΠΎΡΡΠ°Π²ΠΈΡΡ Π½Π° ΠΌΠ΅ΡΡΠΎ ΠΎΡΡ ΠΈ Π·Π°ΠΆΠ°ΡΡ Π΅Π΅ ΡΡΠΎΠΏΠΎΡΠ½ΡΠΌ Π²ΠΈΠ½ΡΠΎΠΌ. ΠΡΠ»ΠΈ Π½Π΅Ρ (ΠΏΠΎΡΠ΅ΡΡΠ»ΡΡ) ΡΡΠΎΠΏΠΎΡΠ½ΠΎΠ³ΠΎ Π²ΠΈΠ½ΡΠ° β ΠΏΠΎΡΡΠ°Π²ΠΈΡΡ Π½ΠΎΠ²ΡΠΉ.
Π£ Π²ΡΠ΅Ρ ΠΌΠ°ΡΠΈΠ½ Β«Π§Π°ΠΉΠΊΠ°Β» ΠΏΠΎΠ΄ΠΎΠ±Π½ΠΎΠΉ ΠΊΠΎΠ½ΡΡΡΡΠΊΡΠΈΠΈ Ρ ΠΎΡΡ ΠΈ ΡΠ΅Π΄ΠΊΠΎ, Π½ΠΎ Π²ΡΡΡΠ΅ΡΠ°Π΅ΡΡΡ Ρ Π°ΡΠ°ΠΊΡΠ΅ΡΠ½Π°Ρ Π΄Π»Ρ ΡΡΠΈΡ ΠΌΠ°ΡΠΈΠ½ Π½Π΅ΠΈΡΠΏΡΠ°Π²Π½ΠΎΡΡΡ. Π’ΡΠ°Π½ΡΠΏΠΎΡΡΠ΅Ρ ΡΠΊΠ°Π½ΠΈ ΡΠ°Π±ΠΎΡΠ°Π΅Ρ Π½Π΅ΡΠ΄ΠΎΠ²Π»Π΅ΡΠ²ΠΎΡΠΈΡΠ΅Π»ΡΠ½ΠΎ β ΠΏΡΠΎΠΈΡΡ ΠΎΠ΄ΡΡ ΡΡΡΠ²Ρ Π² Π΅Π³ΠΎ ΡΠ΅Π³ΡΠ»ΠΈΡΠΎΠ²ΠΊΠ΅. Π ΡΡΠ°Π³ 3 (ΡΠΌ. ΡΠΈΡ. 74) Π² ΠΊΠΎΠ½ΡΠ°ΠΊΡΠ΅ Ρ ΠΊΡΠ»ΠΈΡΠΎΠΉ Π½Π°Ρ ΠΎΠ΄ΠΈΡΡΡ ΠΎΡΠ΅Π½Ρ ΠΌΠ°Π»ΠΎΠΉ ΠΏΠ»ΠΎΡΠ°Π΄ΠΊΠΎΠΉ, Ρ. Π΅. ΠΎΠ½ ΡΠΌΠ΅ΡΠ΅Π½ Π²Π»Π΅Π²ΠΎ. ΠΠΏΠ΅ΡΠ°ΡΠΈΠΈ ΡΠ΅ΠΌΠΎΠ½ΡΠ°: ΡΠ½ΡΡΡ ΡΠ΅Π³ΡΠ»ΡΡΠΎΡ Π΄Π»ΠΈΠ½Ρ ΡΡΠ΅ΠΆΠΊΠ° ΠΈ ΡΠ°Π·ΠΎΠ±ΡΠ°ΡΡ Π΅Π³ΠΎ. ΠΠ°Π³ΡΠ΅ΡΡ ΡΡΡΠ°Π³ 3 Π΄ΠΎ ΠΌΠ°Π»ΠΈΠ½ΠΎΠ²ΠΎΠ³ΠΎ ΡΠ²Π΅ΡΠ° ΠΈ Π΅Π³ΠΎ ΠΊΠΎΠ½ΡΠ°ΠΊΡΠ½ΡΠΉ ΠΊΠΎΠ½Π΅Ρ Π½Π° Π΄Π»ΠΈΠ½Π΅ 20 ΠΌΠΌ ΠΏΠΎΠ΄ΠΎΠ³Π½ΡΡΡ Π²ΠΏΡΠ°Π²ΠΎ Π½Π° 3 ΠΌΠΌ. ΠΠ°ΡΠ΅ΠΌ ΠΏΠΎΡΠ»Π΅ ΠΏΠΎΡΡΠ΅ΠΏΠ΅Π½Π½ΠΎΠ³ΠΎ ΠΎΡ Π»Π°ΠΆΠ΄Π΅Π½ΠΈΡ ΡΠΎΠ±ΡΠ°ΡΡ ΡΠ·Π΅Π» ΡΠ΅Π³ΡΠ»ΡΡΠΎΡΠ° Π² ΠΎΠ±ΡΠ°ΡΠ½ΠΎΠΌ ΠΏΠΎΡΡΠ΄ΠΊΠ΅. ΠΠ°ΡΠΈΠ½Ρ ΡΠ»Π΅Π΄ΡΠ΅Ρ ΡΠΊΡΠ΅ΠΏΠ»ΡΡΡ Π½Π° ΠΎΡΠΊΠΈΠ΄Π½ΡΡ ΠΏΠ΅ΡΠ»ΡΡ , Π° Π½Π΅ Π½Π° ΡΠ±Π»ΠΎΡΠ½ΠΎΠΌ Π²ΠΈΠ½ΡΠ΅.
ΠΡΠΈ Π²ΡΠΏΠΎΠ»Π½Π΅Π½ΠΈΠΈ Π½Π° ΠΌΠ°ΡΠΈΠ½Π΅ ΡΡΡΠΎΡΠΊΠΈ Π·ΠΈΠ³Π·Π°Π³ Π½Π°Π±Π»ΡΠ΄Π°Π΅ΡΡΡ ΡΠΈΠ»ΡΠ½ΠΎΠ΅ ΠΊΠΎΠ»Π΅Π±Π°Π½ΠΈΠ΅ ΡΡΡΠΊΠΈ ΡΠΏΡΠ°Π²Π»Π΅Π½ΠΈΡ Π΄Π΅ΠΊΠΎΡΠ°ΡΠΈΠ²Π½ΡΠΌΠΈ ΡΡΡΠΎΡΠΊΠ°ΠΌΠΈ. ΠΡΠΈΡΠΈΠ½Ρ:
1) Π½Π° Π²ΡΡΠ»ΠΊΠ΅ ΡΡΡΠ°Π³ ΠΏΠΎΠ΄ΡΠ΅ΠΌΠ° ΠΊΡΠ»ΠΈΡΡ Π²ΡΠ°ΡΠ°Π΅ΡΡΡ Ρ Π·Π°Π΅Π΄Π°Π½ΠΈΠ΅ΠΌ;
2) ΠΊΠΎΠΏΠΈΡΠ½ΡΠ΅ ΡΡΡΠ°Π³ΠΈ Π²ΡΠ°ΡΠ°ΡΡΡΡ ΡΡΠ³ΠΎ;
3) ΡΡΡΠΊΠ° ΡΠΏΡΠ°Π²Π»Π΅Π½ΠΈΡ ΡΠΈΠ»ΡΠ½ΠΎ ΠΏΡΠΈΠΆΠ°ΡΠ° ΠΊ ΡΠ°ΠΌΠ΅ Π±Π»ΠΎΠΊΠ°.
1) ΠΎΡΠΎΠ΄Π²ΠΈΠ½ΡΡΡ ΡΡΡΡ-ΡΡΡΡ (Π½Π° 0,05 ΠΌΠΌ) ΠΊΠΎΠ»ΡΡΠΎ 6 (ΡΠΌ. ΡΠΈΡ. 71) Π½Π° Π±Π»ΠΎΠΊΠ΅ ΠΊΠΎΠΏΠΈΡΠ½ΡΡ ΡΡΡΠ°Π³ΠΎΠ²;
2) ΠΏΡΠΎΡΠ»ΠΈΡΠΎΠ²Π°ΡΡ Π²ΡΡΠ»ΠΊΡ ΠΏΠΎ Π½Π°ΡΡΠΆΠ½ΠΎΠΉ ΠΏΠΎΠ²Π΅ΡΡ Π½ΠΎΡΡΠΈ ΡΠΈΠ»ΠΈΠ½Π΄ΡΠ°, Π² ΠΊΠΎΡΠΎΡΠΎΠΌ Π²ΡΠ°ΡΠ°Π΅ΡΡΡ ΠΎΡΡ 7 Π±Π»ΠΎΠΊΠ° ΠΊΠΎΠΏΠΈΡΠ½ΡΡ ΡΡΡΠ°Π³ΠΎΠ²;
3) ΠΎΡΠΎΠ΄Π²ΠΈΠ½ΡΡΡ ΡΡΡΠΊΡ Π½Π° 0,1 ΠΌΠΌ ΠΎΡ ΡΠ°ΠΌΠΊΠΈ Π±Π»ΠΎΠΊΠ° Π·ΠΈΠ³Π·Π°Π³Π°;
4) ΡΠΌΠ°Π·Π°ΡΡ ΠΌΠ°ΡΠ»ΠΎΠΌ Π8Π Π±Π»ΠΎΠΊ ΠΊΠΎΠΏΠΈΡΠ½ΡΡ ΡΡΡΠ°Π³ΠΎΠ².
ΠΡΠ΅Π³ΠΎ Ρ ΠΎΡΠΎΡΠ΅Π³ΠΎ, ΠΏΠΈΡΠΈΡΠ΅ to Elremont Β© 2010
















